-
Verificar que las luces traseras (C) y las luces de advertencia
(B) funcionen correctamente antes de conducir el tractor por la carretera.
Instalar la señal de vehículo de movimiento lento (A),
reflectores y luces auxiliares del equipo, según lo que exijan
las normas locales de seguridad. Para lograr mayor visibilidad, limpiar
la señal de vehículo de movimiento lento.
ATENCIÓN: No utilizar nunca faros de trabajo (si existen) al
transportar el tractor. La intensidad de estas luces en la parte trasera
del tractor podrían confundir a los conductores de otros vehículos
al acercarse por detrás. Usar solo los faros principales para
el transporte.
IMPORTANTE: Se hallará una descripción detallada
del uso y funcionamiento de las luces en la sección Funcionamiento
del sistema eléctrico y de luces.
-

CPA0002867-UN-15JUN16
Puesto de conducción abierto
A - Palanca de intermitentes de giro
Usar los intermitentes de giro cuando se vaya a virar. Asegurarse
de volver a poner la palanca de intermitentes de giro (A) en su posición
central después de girar.
-

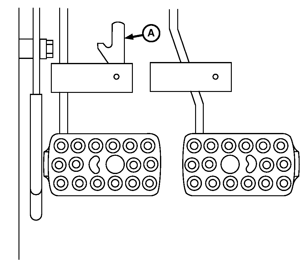
P9915-UN-13NOV00
A - Barra de bloqueo
Antes de conducir por carretera, una los pedales de freno
mediante una barra de unión (A). Evitar pisar los frenos bruscamente.
-
Conducir a una velocidad lo suficientemente lenta como para
no perder nunca el control del vehículo. Aminore la velocidad
en laderas o terreno irregular y al tomar curvas cerradas, especialmente
al transportar aperos pesados suspendidos atrás.
-
Antes de bajar por una pendiente, cambiar a una marcha baja
que permita controlar la velocidad sin necesidad de aplicar los frenos.
En ningún caso se debe bajar por pendientes con el motor desembragado.
Esto podría provocar una velocidad excesiva en el disco de
embrague y causar graves daños en el embrague.
-
Al transportar bajando laderas con hielo o de grava, estar alerta
a patinajes que pueden resultar en la pérdida del control.
Para reducir las posibilidades de que se produzcan derrapes, aminorar
la velocidad y comprobar que el tractor va debidamente lastrado.
-
ATENCIÓN:

LV4421-UN-02NOV99
Una cadena de seguridad asegura el equipo arrastrado en
caso de que se separe accidentalmente de la barra de tiro. Utilizar
las piezas adaptadoras apropiadas para fijar la cadena al soporte
de la barra de tiro del tractor o a otro punto seguro de fijación.
Dejar la cadena sólo lo suficientemente floja como para poder
virar. Consultar a su concesionario John Deere para una cadena de
seguridad con una resistencia igual o superior al peso bruto de la
máquina de remolque. No usar la cadena de seguridad para remolcar
sólo con ella.
IMPORTANTE: La cadena de seguridad es solamente para el transporte.
No debe utilizarse para arrastrar o remolcar aperos ni otros equipos
no acoplados a la barra de tiro, ya que el tractor podría sufrir
daños.
Transporte de carga remolcada:
Fijar en su sitio el bulón de la barra de tiro (A) y
usar la cadena de seguridad para asegurar el equipo remolcado en caso
de que se desprenda accidentalmente de la barra de tiro durante el
transporte.
-
ATENCIÓN:

LV4042-UN-09JUL99
La distancia de detención aumenta en proporción
a la velocidad y al peso de la carga de remolque y en pendientes.
Las cargas remolcadas, con o sin frenos propios, excesivamente pesadas
para el tractor o remolcadas a demasiada velocidad pueden hacer que
el conductor pierda el control. Tener en cuenta el peso total del
equipo y su carga.Respetar estas velocidades máximas
de carretera recomendadas o los límites de velocidad locales,
que podrían ser inferiores:
Si el equipo remolcado carece de frenos, no avance a más
de 32 km/h (20 mph) y no remolque cargas que superen 1.5 veces el
peso del tractor.
Si el equipo remolcado dispone de frenos, no avance a más
de 40 km/h (25 mph) y no remolque cargas que superen 4.5 veces el
peso del tractor.
Asegúrese de que la carga no exceda la relación
de peso que se recomienda. Aumentar el lastrado del tractor para obtener
la relación de peso máximo recomendada, reducir la carga
remolcada o utilizar un vehículo más pesado con potencia
suficiente. El tractor debe ser lo suficientemente pesado y potente,
con un sistema de frenado adecuado para la carga del remolque. Tener
sumo cuidado al remolcar cargas en condiciones adversas del terreno,
al girar y sobre desniveles.
Tenga cuidado al conducir el tractor a velocidades de transporte.
Aminore la velocidad si la carga remolcada pesa más que el
tractor o si ésta no tiene frenos propios. (Consulte, en el
manual de uso del equipo remolcado, las velocidades recomendadas de
transporte.)
-
Tener especial cuidado al remolcar cargas sobre superficies
peligrosas, al virar y al conducir sobre pendientes.
-
Los aperos pesados remolcados o suspendidos pueden empezar a
oscilar durante el transporte. Una oscilación excesiva provocará
la pérdida del control del vehículo. Conduzca lentamente
y no gire bruscamente el volante. Consultar las restricciones de velocidad
en el manual del operador del apero.