Ajuste de carrera libre de los pedales de freno

P9095-UN-28SEP00

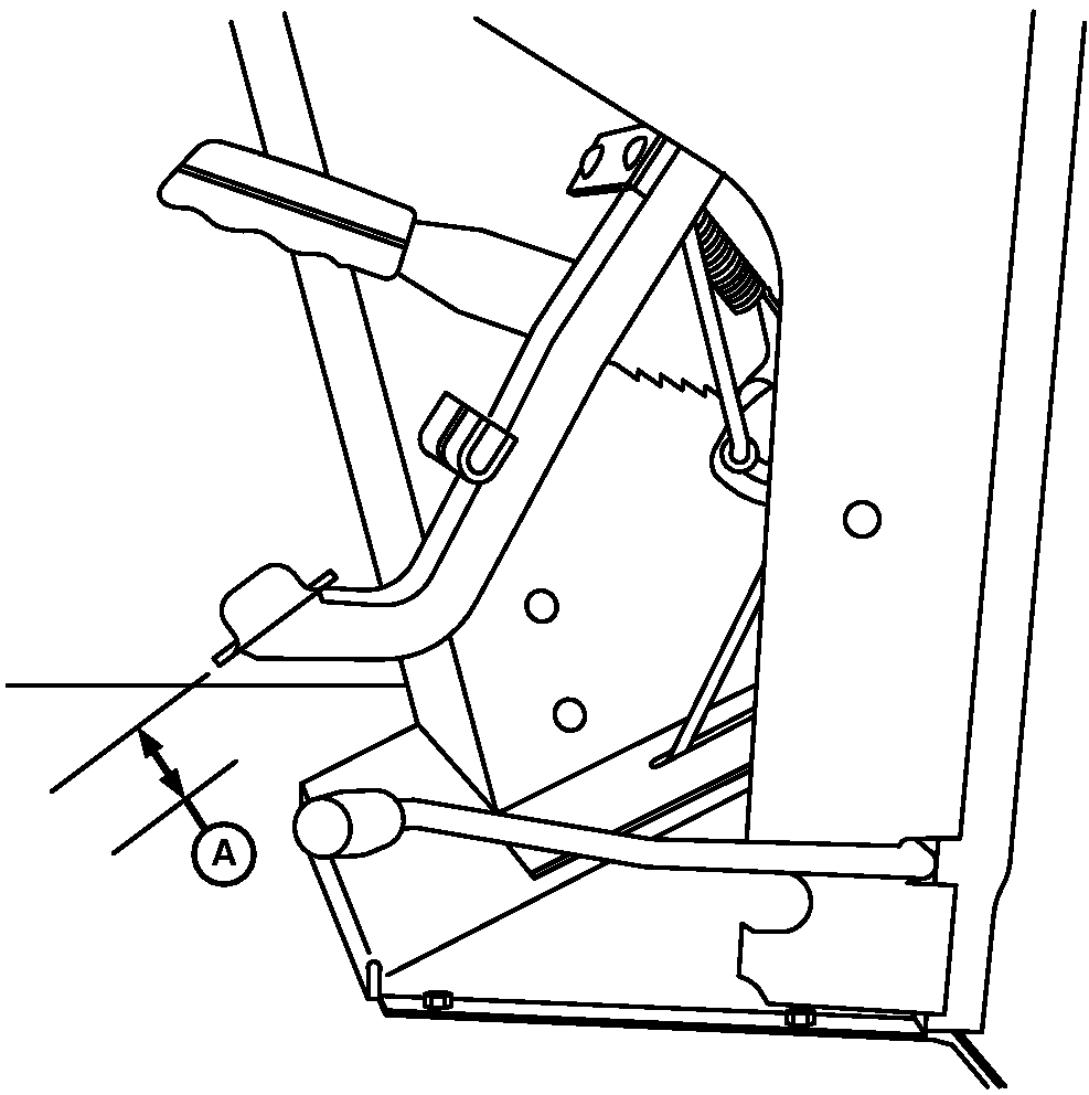
P11553-UN-26JUL02
Lado izquierdo
A - Carrera de pedales de freno
B - Contratuercas
C - Tensor
|
Intervalo de servicio— Según
se Requiera
|
-
Estacionar en suelo nivelado. Bloquear las ruedas para impedir
el desplazamiento de la máquina.
-
Desbloquear los pedales de freno.
-
Mientras se oprime uno de los pedales con una fuerza de aproximadamente
10 kg (22 lb), medir la distancia (A) entre el pedal oprimido y el
otro libre.
-
Ajustar el varillaje del pedal oprimido hasta que la distancia
esté dentro de la especificación.
| Elemento | Medición | Especificación |
|
Pedal de frenos | Carrera libre | 70 ± 3 mm (2.75 ± 0.11 in.) |
-
Cada lado del tractor tiene una varilla de ajuste con tensor
y contratuercas, de modo que cada pedal de freno debe ajustarse por
separado. El mecanismo de ajuste está cerca del extremo trasero
de la varilla en el lado izquierdo, y cerca del extremo delantero
en el lado derecho del tractor. Para ajustar el varillaje, aflojar
las contratuercas (B) a cada lado del tensor (C).
-
Girar el tensor como sea necesario para aumentar o disminuir
la tensión en la varilla de ajuste y así obtener la
especificación de carrera libre.
-
Después que la carrera del pedal está dentro de
la especificación, apretar las contratuercas a ambos lados
del tensor.
|
|
OUO6070,000001D-63-20001012
|
|