Adjusting PTO Clutch Operating Rod

1. Move PTO lever (A) to rearward (disengaged) position.

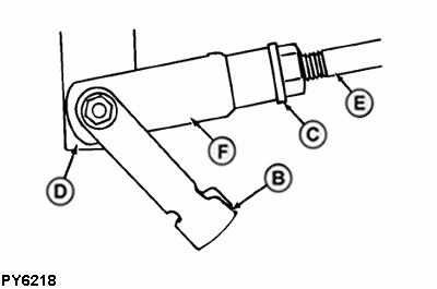
2. Remove clip pin (B) from forward end of PTO clutch rod.

3. Loosen jam nut (C) from rear of front clevis (F).

4. Adjust length of rod (E) so the clip pin (B) can be inserted with the rod pulled forward and the arm pulled rearward to eliminate freeplay. Lengthen rod (E) by 1/2 turn of the clevis (F) to provide a slight amount of lever freeplay.

5. Reinstall clip pin (B) in clevis (E) and arm (D).

6. Check for equal thread engagement at each end of the PTO clutch rod. Jam nut at the rear (not shown) can be loosened and the rod turned to equalize thread engagement (PTO adjustment is not affected).

7. Tighten jam nuts (C) at each end of rod.


A-PTO Clutch Lever
B-Clip Pin
C-Jam Nut
D-Arm
E-Rod
F-Clevis

PY7316
PY6218

SA61034,0000064 -19-22NOV07-1/1