Clean Hydraulic Filter

FH1222
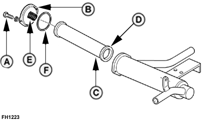
FH1223


A-Cap Screws (2 used)
B-Plate
C-Filter
D-Seal
E-Spring
F-O-Ring
G-Oil Dipstick

1. Remove drain plug and drain oil.

2. Remove cap screw (A) and plate (B).

3. Remove and clean filter (C).

IMPORTANT: Replace seal and O-ring. Damaged or used seals and O-rings will leak.

4. While assembling filter check position of seal (D) spring (E) and O-ring (F).

5. Assemble filter in reverse order.

6. Install drain plug

7. Fill system with transmission-hydraulic oil. (See Fuels, Lubricants and Coolants section.)

8. Check oil level at dipstick (G) after filling, and again after operating for 5 minutes.

FH1224

SS40167,0000D55 -19-02MAY08-1/1