Keep ROPS Installed Properly

causym CAUTION: Make certain all parts are installed correctly if roll-over protective structure (ROPS) is loosened or removed for any reason. Tighten mounting bolts to proper torque.

The protection offered by ROPS will be impaired if ROPS is subjected to structural damage, as in an overturn incident, or is in anyway altered by welding, bending, drilling, or cutting. A damaged ROPS should be replaced, not reused. Any alteration to the ROPS must be approved by the manufacturer.

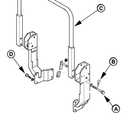
When installation of equipment on a machine necessitates loosening or removing Roll-Over Protective Structure (ROPS) (C), mounting bolts (D) should be tightened to specification.

Specification

ROPS Mounting Bolts -Torque 240N·m (177 lb-ft)

Inspect ROPS mounting hardware every 250 hours for proper torque or replacement.

TO LOWER ROPS CROSSBAR (A):

1. Remove quick-lock pins (A) and headed pins (B) on both side of ROPS.

2. Lower crossbar (C) of ROPS onto stops.

3. Reinstall pins (A and B) into bottom holes in ROPS to lock crossbar down.

causym CAUTION: Always keep upper part of ROPS pinned in vertical position (as pictured) when operating tractor. If tractor is operated with ROPS folded (e.g. to enter a low building) drive with extreme caution and DO NOT use seat belt.

Fold the ROPS up again as soon as the tractor is operated under normal conditions.

TO PUT ROPS IN OPERATING POSITION:

FH0432
FH0581
FH0434


A-Quick-Lock Pins (2 used)
B-Headed Pins (2 used)
C-ROPS Crossbar
D-Mounting Bolts (8 used)

SS40167,0000D68 -19-02MAY08-1/2


Lift crossbar (A) of ROPS to vertical position. Install pins (B) and quick-lock pins (A) into bottom holes in ROPS to lock in position.

SS40167,0000D68 -19-02MAY08-2/2