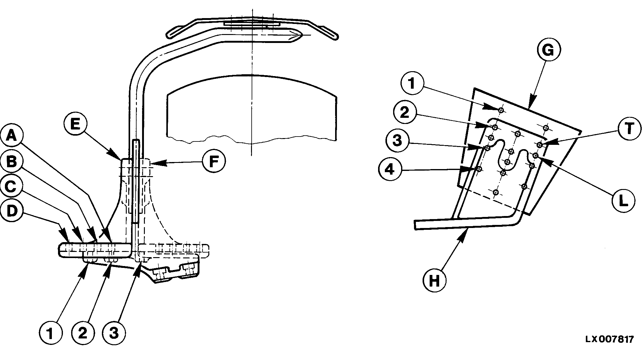
Front Fender Adjustment (MFWD Axle)

LX007817-UN-16AUG94

P15337-UN-28MAR08
E - Bracket Facing Out
F - Bracket Facing In
G - Fender
H - Bracket
Fenders must be installed in correct position depending on tire
size and tread width. Fender width is 400 mm (15.7 in.). The following
table indicates correct position for a given tire size, wheel and
rim disk position.
Explanation of Table Positions
D-2—Indicates which holes (1,
2, or 3 and A, B, C or D) are bolted together.
NOTE: Every time bracket position is reversed, left-hand side
bracket must be installed on right-hand side of tractor and vice versa.
L/2—Shows whether upper (T)
or lower (L) bracket holes must be used, together with corresponding
holes (1, 2, 3 or 4) in fender.
NOTE: Upper holes (T) in bracket are not used in this particular
machine and tire sizes.
Fender Position and Height—indicates
correct fender position and height on axle, for example : D-2 , L3.
|
Position of Adjustable Rims and Wheel Disks
|
| |
|
A
|
B
|
C
|
D
|
E
|
F
|
G
|
|
Tire Size
|
|
|
|
|
|
|
|
|
|
13.6-24
|
Fender Position
|
N/A
|
A-2, L/3
|
B-3, L/3
|
B-1, L/3
|
B-2, L/3
|
D-2, L/3
|
C-3, L/3
|
|
14.9-24
|
Fender Position
|
N/A
|
N/A
|
B-3, L/4
|
A-3, L/4
|
C-1, L/4
|
A-3, L/4
|
C-3, L/4
|
|
|
NS43404,00004BB-19-20080328
|
|