-
Before operating tractor on highway be sure tail lights (C)
and flashing warning lights (B) work properly. Install Slow Moving
Vehicle (SMV) emblem (A), reflectors and auxiliary lighting equipment
as required by local safety regulations. Clean SMV emblem for best
visibility.
CAUTION: Never operate floodlights (if equipped) when transporting
tractor. Clear bright light(s) at the rear of the tractor could confuse
drivers of other vehicles as they approach from behind. Use only road
lights for transporting.
IMPORTANT: Refer to Lights section for detailed description
of lighting operations and functions.
-

P14851-UN-10APR08
Cab Shown
A - Turn Signal Lever
Use turn signals when turning. Be sure to return turn signal
lever (A) to center position after turning.
-

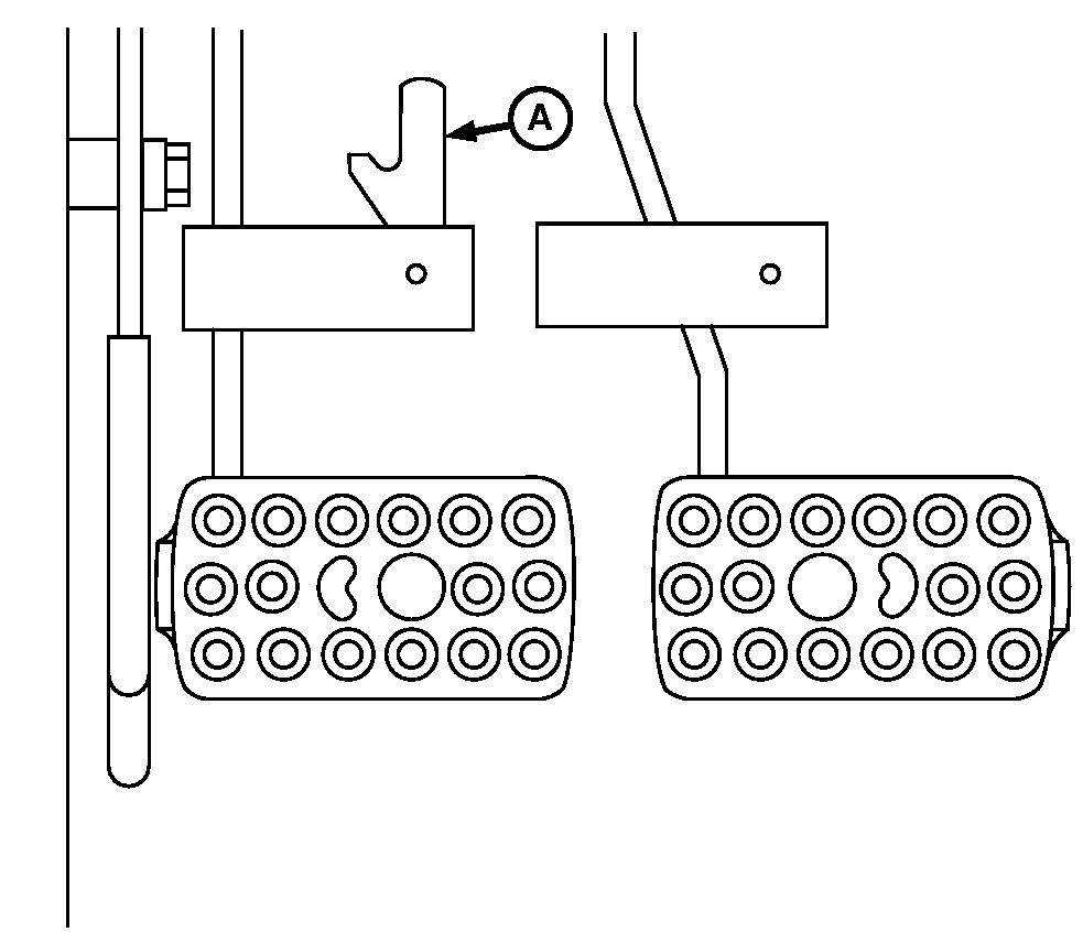
P9915-UN-13NOV00
A - Locking Bar
Before driving on a road, couple brake pedals together using
locking bar (A). Avoid hard applications of brakes.
-
Drive slowly enough to maintain safe control at all times. Slow
down for hillsides, rough ground, and sharp turns, especially when
transporting heavy, rear-mounted equipment.
-
Before going down a hill, shift to a gear low enough to control
speed without using brakes. Never coast down hill with clutch disengaged.
This can overspeed clutch disc and cause severe clutch damage.
-
When transporting downhill on icy or graveled grades, be alert
for skids which could result in loss of steering control. To decrease
chance of skids, reduce speed and be sure tractor has proper ballast.
-
CAUTION:

LV4421-UN-02NOV99
A safety chain will help drawn equipment should it accidentally
separate from the drawbar. Using the appropriate adapter parts, attach
the chain to the tractor drawbar support or other specified anchor
location. Provide only enough slack in the chain to permit turning.
See your John Deere dealer for a chain with a strength rating equal
to or greater than the gross weight of the towed machine. Do not use
safety chain for towing.
IMPORTANT: Safety chain is provided for transport only. It must
not be used for pulling or towing implements or other items not attached
to drawbar, or damage to your tractor may result.
Transporting towed loads: Lock drawbar
pin (A) in place and use safety chain to help control drawn equipment
should it accidentally separate from drawbar while transporting.
-
CAUTION:

LV4042-UN-09JUL99
Stopping distance increases with speed and weight of towed
loads, and on slopes. Towed loads with or without brakes that are
too heavy for the tractor, or are towed too fast, can cause loss of
control. Consider the total weight of the equipment and its load.Observe these recommended maximum road speeds, or local speed
limits which may be lower:
If towed equipment does not have brakes, do not go faster than
32 km/h (20 mph) and do not tow loads more than 1.5 times the tractor
weight.
If towed equipment has brakes, do not go faster than 40 km/h
(25 mph) and do not tow loads more than 4.5 times the tractor weight.
Make sure the load does not exceed the recommended weight ratio.
Add ballast to recommended maximum for tractor, lighten the load,
or get a heavier towing unit. The tractor must be heavy and powerful
enough with adequate braking power for the towed load. Use additional
caution when towing loads under adverse surface conditions, when turning,
and on inclines.
Use caution when operating tractor at transport speeds. Reduce
speed if towed load weighs more than tractor and is not equipped with
brakes. (See towed equipment operator's manual for recommended transport
speeds.)
-
Use additional caution when transporting towed loads under adverse
surface conditions, when turning and on inclines.
-
Heavy towed or rear mounted implements may start swaying in
transport. Excessive swaying will result in loss of steering control.
Drive slowly and avoid quick turns of steering wheel. Refer to your
implement operator's manual regarding maximum travel speed limitations.