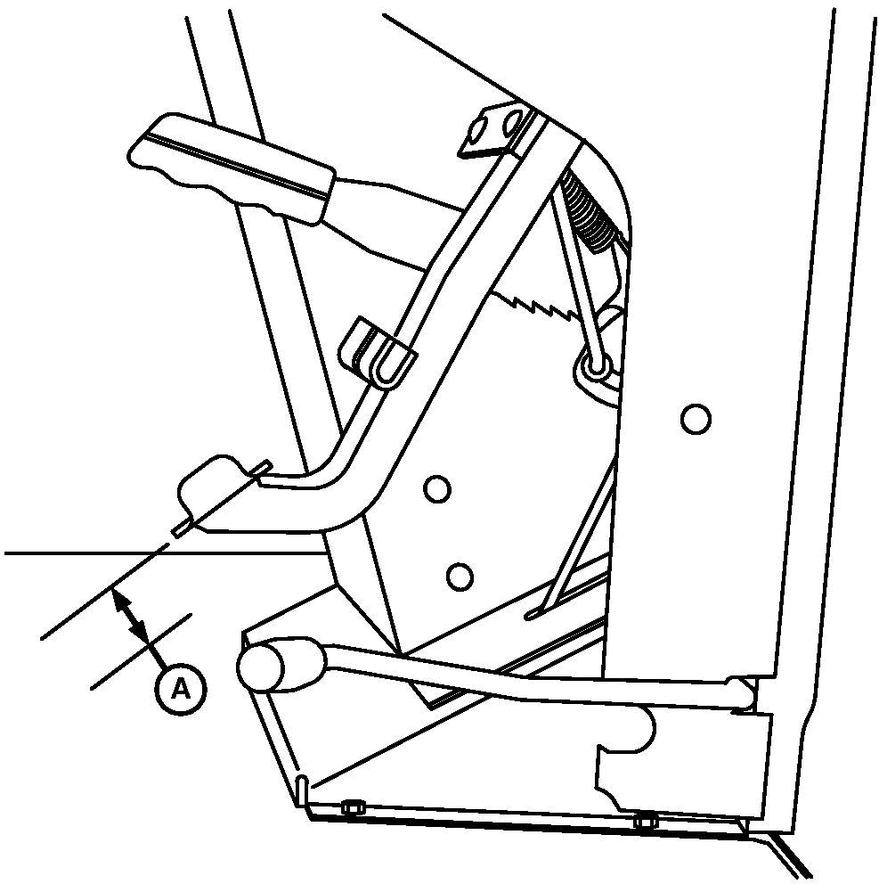
Adjust Brake Pedal Free Travel

P9095-UN-28SEP00

P11553-UN-26JUL02
Left-Hand Side Shown
A - Brake Pedal Travel
B - Jam Nuts
C - Turnbuckle
|
Service Interval—250 Hours
|
-
Park on level surface. Chock wheels to prevent machine movement.
-
Unlock brake pedals.
-
Apply approximately 10 kg (20 lb) force on one brake pedal and
measure distance (A) between engaged pedal and disengaged pedal. If
free travel is not within specification, adjust linkage.
| Item | Measurement | Specification |
|
Brake Pedal | Free Travel | 70 ±3 mm (2.75 ±0.12 in.) |
-
Adjust each brake pedal separately. Each side of tractor has
an adjustment rod with turnbuckle and jam nuts. To adjust linkage,
on each side of turnbuckle (C).
-
Loosen jam nuts (B).
-
Rotate turnbuckle (C) as needed to increase or decrease tension
on adjustment rod in order to obtain free travel specification.
-
Tighten jam nuts.
-
Repeat on opposite side.
|
|
NS43404,00004E0-19-20080213
|
|