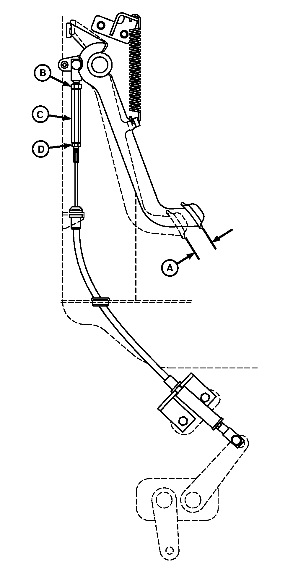
Adjust Clutch Pedal Free Travel—Mechanical Activated Clutch

P14936-UN-03DEC07
A - Jam Nuts
B - Turnbuckle
C - Free Travel Distance
|
Service Interval—Weekly/50 Hours
|
IMPORTANT: The adjustment of the cable attached to the clutch
pedal has been set by the factory and does not require further adjustment
during the life of the tractor, unless the cable is removed or disconnected.
Measure distance clutch pedal travels before clutch engagement
is felt. If free travel (C) is not within specification, adjust linkage.
| Item | Measurement | Specification |
|
Clutch Pedal Free Travel | Distance | 32 ± 5 mm (1-1/2 ± 3/16 in.) |
-
Loosen jam nuts (A).
-
Turn turnbuckle (B):
-
Counterclockwise to increase free play
-
Clockwise to decrease free play
-
Tighten jam nuts.
|
|
NS43404,00004E1-19-20080213
|
|