-
IMPORTANT: Do NOT adjust PTO clutch linkage until the slot in
operators station is measured to determine correct procedure. Incorrect
adjustment may cause premature failure to PTO clutch throw out bearing.
(See DETERMINE PTO CLUTCH LINKAGE ADJUSTMENT PROCEDURE in this group.)

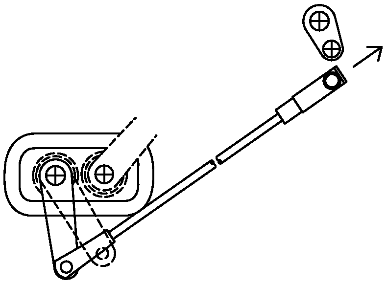
P10465-UN-20NOV01
A - Jam Nut
B - Cotter Pin
C - Pin
Move control lever rearward to its disengaged position.
-
Loosen jam nut (A).
-
Remove cotter pin (B) and pin (C).
IMPORTANT: Applying more than 5 lbs. of force will begin to
depress the clutch fingers causing inaccurate clutch adjustment leading
to potential clutch damage.
-

P10464-UN-19NOV01
Pull linkage rearward (in direction of arrow) without exceeding
5 lbs. of force, until resistance is felt to remove free play.
-

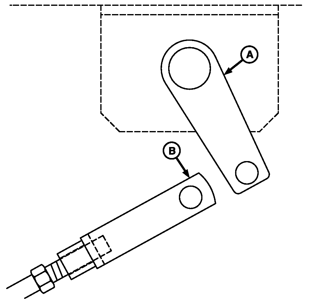
P10466-UN-19NOV01
A - Engagement Arm
B - Yoke
Adjust yoke (B) of PTO rod to align the holes on yoke (B)
and lever arm (A).
-
Engage and disengage PTO five times and make sure pin still
gets in freely, if not readjust yoke and align holes again.
-
Put a mark on the yoke and remove pin.
-
Lengthen the rod and yoke by rotating the yoke (B) 2.5 turns
counterclockwise (TSS).
-
Install pin and cotter pin.
-
Hold yoke and tighten jam nut.
-

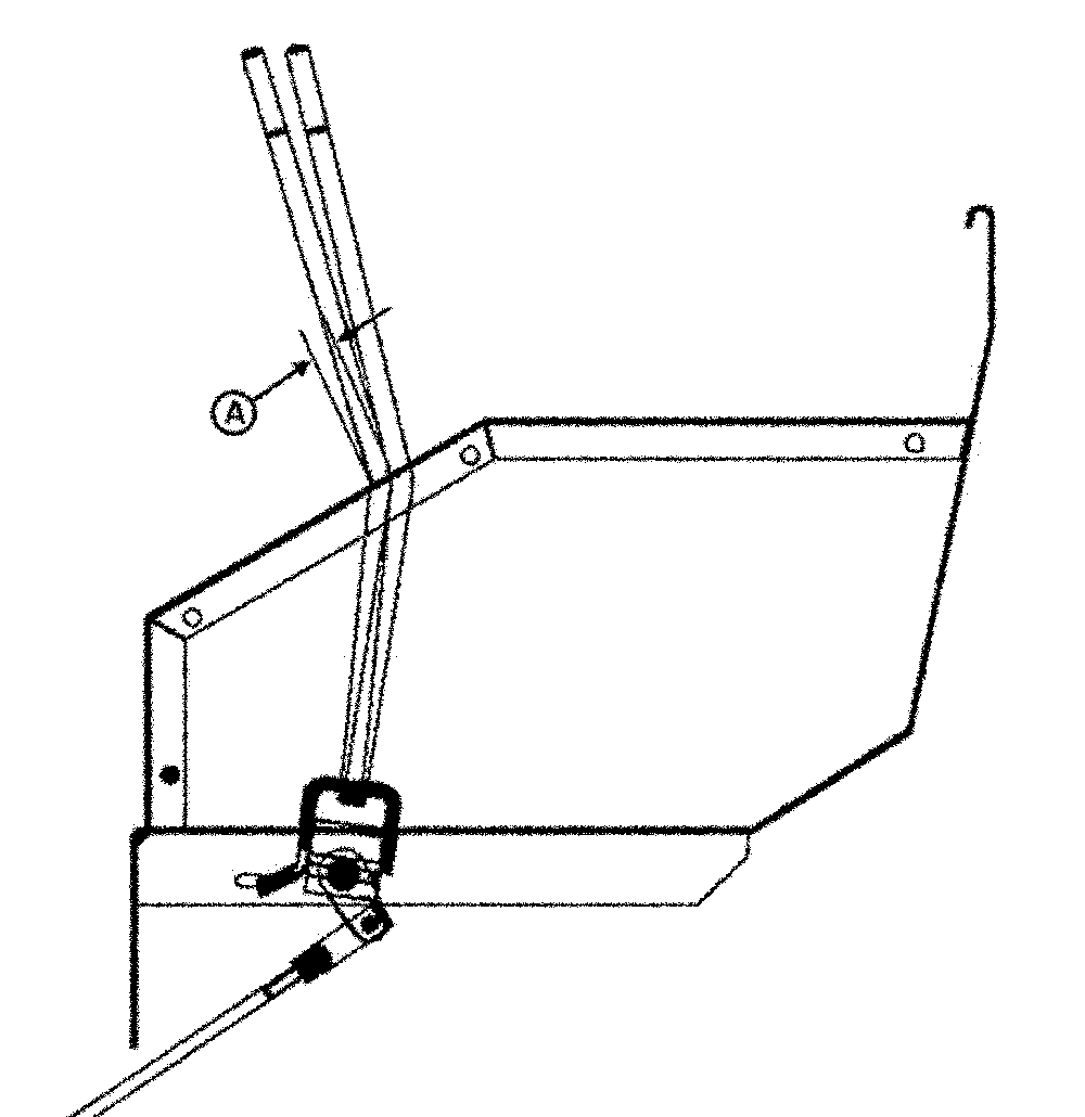
P12390-UN-19AUG03
To verify proper adjustment, check free play at PTO engagement
lever in operator station. The free play (A) should be approximately
3 mm measured as shown in drawing.