Stay Clear of Rotating Drivelines

TS1644-UN-22AUG95

H96219-UN-29APR10
Entanglement in rotating driveline can cause serious injury
or death.
Keep tractor master shield and driveline shields in place at
all times. Make sure rotating shields turn freely.
Wear close fitting clothing. Stop the engine and be sure that
PTO driveline is stopped before making adjustments, connections, or
cleaning out PTO driven equipment.
Do not install any adapter device between the tractor and the
primary implement PTO drive shaft that will allow a 1000 rpm tractor
shaft to power a 540 rpm implement at speeds higher than 540 rpm.
Do not install any adapter device that results in a portion
of the rotating implement shaft, tractor shaft, or the adapter to
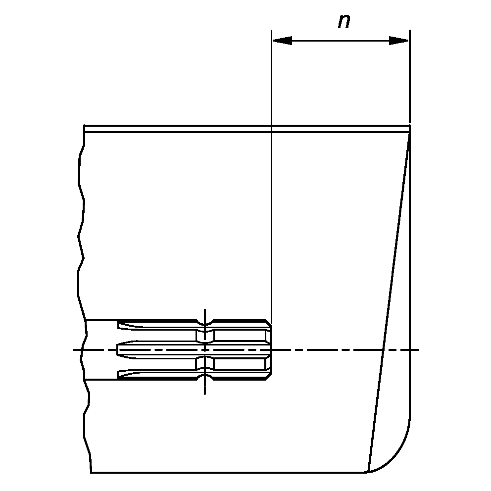
be unguarded. The tractor master shield shall overlap the end of the
splined shaft and the added adaptor device as outlined in the table.
|
PTO Type
|
Diameter
|
Splines
|
n ± 5 mm (0.20 in.)
|
|
1
|
35 mm (1.378 in.)
|
6
|
85 mm (3.35 in.)
|
|
2
|
35 mm (1.378 in.)
|
21
|
85 mm (3.35 in.)
|
|
3
|
45 mm (1.772 in.)
|
20
|
100 mm (4.00 in.)
|
|