-
Converting to category 3N is necessary for some narrow row/tread
spacing operations. Quick coupler is convertible to Category 3 or
Category 3N. Use Category 3 whenever possible, especially for heavy
loads.

RXA0085783-UN-10JAN06
Spacer and Bumper Block
A - Spacer
B - Bumper Block
Install spacer (A) on outside of draft link for Category 3N.
IMPORTANT: If coupler is converted to category 3N, sway block
spacer (A) must be mounted on the outside of draft link to avoid damaging
equipment.
-
Adjust bumper block (B) to minimize clearance.
-
Tighten nut securely.
-

RXA0098644-UN-28JUL08
Quick Coupler

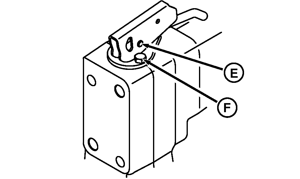
RXA0085782-UN-10JAN06
Quick Coupler
A - Retaining Bolts
B - Cap Screws
C - Left Side Member
D - Right Side Member
E - C-Clip and Pin
F - Cap Screw
Support center of quick coupler. Remove pin retaining bolts
(A) and pins from draft link. Remove side member cap screws (B).
-
Swap quick coupler side members, left-side member (C) to right
end and right-side member (D) to left. Tighten cap screws to 320 +/-64
N·m.
-
Disconnect latch levers by removing C-clip and pin (E).
-
Remove cap screw (F) from wear plate and turn so tab is inward.
-
Install cap screws and tighten securely.
-
Reconnect levers.