Observing Drawbar Load Limitations
IMPORTANT:

RXA0090815-UN-14SEP06
Drawbar

RXA0090722-UN-14SEP06
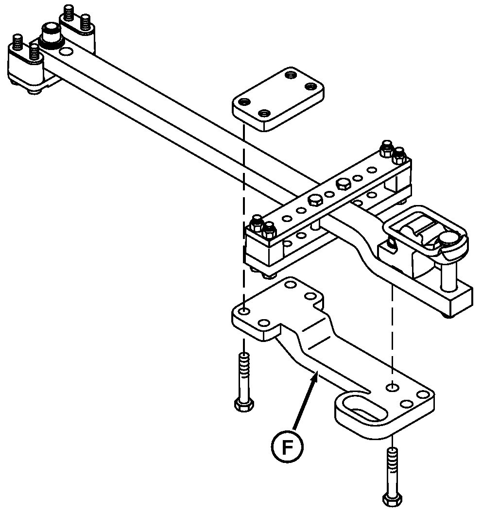
Heavy Duty Drawbar with Support
A - Drawbar
B - PTO Shaft
C - Dimension
D - Short Position
E - Long Position
F - Heavy Duty Support
Heavy implements together with rough terrain and speed can
place excessive strain on drawbar. Do not exceed maximum static vertical
load on drawbar for a given drawbar (A) length/position, as indicated
in the following table.
IMPORTANT: Heavy duty drawbar support must be used when maximum
static vertical load exceeds 2245 kg (4950 lb).
NOTE: Special cap screws are used on drawbars. See your John
Deere dealer if cap screws must be replaced.
When vertical load exceeds 2245 kg (4950 lb), attach heavy duty
support (F) on Category 4 drawbar and tighten special cap screws to
torque specification.
| Item | Measurement | Specification |
| Heavy Duty Drawbar Support |
|
Support Cap Screws | Torque | 430 N·m (318 lb-ft) |
|
Drawbar Load Limits Based on Drawbar Position,
Length and PTO Type
|
|
Tractor Model and Drawbar Category
|
PTO Shaft (B)
|
End of PTO Shaft to Draw Pin Hole Distance (C)
|
Drawbar Position
|
Maximum Vertical Drawbar Load
|
|
8225, 8245, 8270, and 8295 with Cat 3 Drawbar
|
Standard 1000 rpm w/20 splines, 45 mm (1-3/4 in.) Diameter Shaft
|
500 mm (20 in.)
|
Front Hole (E) Long Position
|
1837 kg (4050 lb)
|
|
8225, 8245, 8270, and 8295 with Cat 3 Drawbar
|
Optional 540 rpm w/6 splines, 35 mm (1-3/8 in.) Diameter shaft
|
350 mm (14 in.)
|
Rear Hole (D) Short Position
|
2700 kg (6000 lb)
|
|
8225, 8245, 8270, and 8295 with Cat 3 Drawbar
|
Optional 1000 rpm w/21 splines, 35 mm (1-3/8 in.) Diameter Shaft
|
400 mm (16 in.)
|
Front Hole (E) Long Position
|
1837 kg (4050 lb)
|
|
8320 and 8345 with Cat 4 Drawbar
|
Standard 1000 rpm w/20 splines, 45 mm (1-3/4 in.) Diameter Shaft
|
500 mm (20 in.)
|
Single Hole Drawbar
|
2245 kg (4950 lb)
|
|
8320 and 8345 with Cat 4 Drawbar
|
Optional 540 rpm w/6 splines, 35 mm (1-3/8 in.) Diameter Shaft
|
N/A
|
N/A
|
N/A
|
|
8320 and 8345 with Cat 4 Drawbar
|
Optional 1000 rpm w/21 splines, 35 mm (1-3/8 in.) Diameter Shaft
|
400 mm (16 in.)
|
Single Hole Drawbar
|
2245 kg (4950 lb)
|
|
8225, 8245, 8270, 8295, 8320 and 8345 with Cat 4 Drawbar and
Heavy Duty Drawbar Support
|
Standard 1000 rpm w/20 splines, 45 mm (1-3/4 in.) Diameter Shaft
|
500 mm (20 in.)
|
Single Hole Drawbar
|
4990 kg (11,000 lb)
|
|
8225, 8245, 8270, 8295, 8320 and 8345 with Cat 4 Drawbar and
Heavy Duty Drawbar Support
|
Optional 540 rpm w/6 splines, 35 mm (1-3/8 in.) Diameter shaft
|
Not Recommended
|
|
8225, 8245, 8270, 8295, 8320 and 8345 with Cat 4 Drawbar and
Heavy Duty Drawbar Support
|
Optional 1000 rpm w/21 splines, 35 mm (1-3/8 in.) Diameter shaft
|
400 mm (16 in.)
|
Single Hole Drawbar
|
4990 kg (11,000 lb)
|
|
Category 3 drawbar uses a 38 mm (1.5 in.) draw pin.
Category 4 uses a 51 mm (2.0 in.) draw pin.
|
|
|
OURX935,0000B78-19-20090915
|
|