Álljon távol a forgó tengelyektől TS1644-UN-22AUG95
 H96219-UN-29APR10
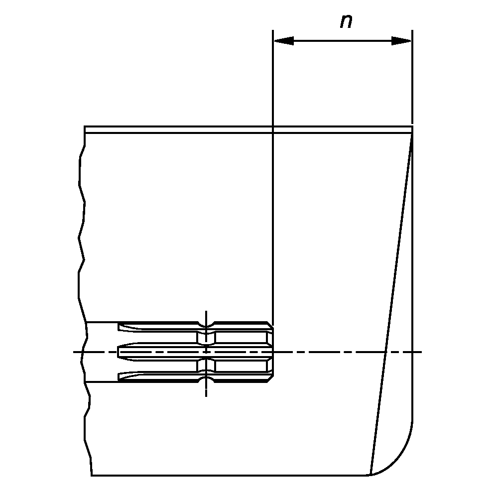
Felcsavarodva rá, a forgótengely súlyos balesetet, vagy halált okozhat. Mindig tartsa a helyén a traktor védőburkolatait és a hajtótengely burkolatát. Győződjön meg arról, hogy a TLT hajtótengely burkolata szabadon el tud-e fordulni. Viseljen mindig zárt ruházatot. Mielőtt beállítást végezne a gépen, csatlakoztatná azt, vagy a TLT-hajtású munkagép tisztításához fogna, állítsa le a motort és győződjön meg róla, hogy a TLT hajtás megállt-e. Ne tegyen fel semmilyen adaptert a traktor és az elsődleges munkagép TLT hajtó tengely közé, mely lehetővé teszi az 1000 ford./perc traktor hajtótengely 540 ford./percnél magasabb fordulalattal való hajtását egy 540 ford./perces hajtású gépnél. Ne tegyen fel semmilyen adaptert mely azt eredményezné, hogy a forgó munkagép tengely, traktor tengely vagy az adapter részben fedetlen maradna. A traktor védőburkolatnak fedésben kell lennie a bordás tengelycsonk végével és a feltett adapterrel a táblázatban megadottak szerint. TLT típus | Átmérő | Bordák | n ± 5 mm (0,20 in.) |
|---|
1 | 35 mm (1,378 in.) | 6 | 85 mm (3,35 in.) | 2 | 35 mm (1,378 in.) | 21 | 85 mm (3,35 in.) | 3 | 45 mm (1,772 in.) | 20 | 100 mm (4,00 in.) |
|