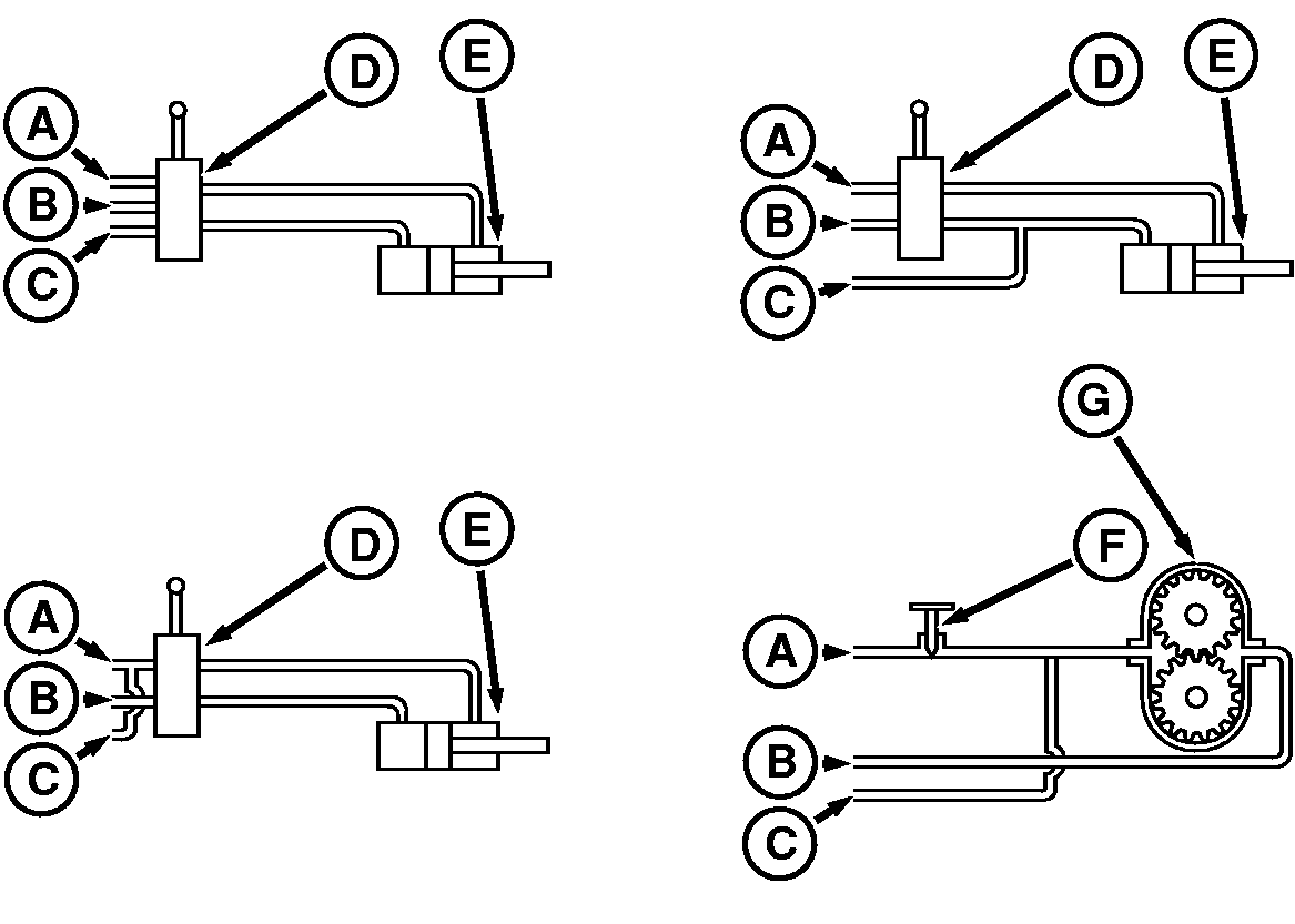
Példák a terhelésérzékelő hidraulika rendszer használatára—Power Beyond RXA0085800-UN-10JAN06
A terhelésérzékelős hidraulika rendszer négy példája—Power Beyond A - Nyomó vezeték B - Visszatérő vezeték C - Terhelés-érzékelő vezeték D - Vezérlőszelep E - Munkahenger F - Nyomáskompenzált áramlásszabályzó szelep G - Hidromotor
Bal felső—A terhelésérzékelő jellel rendelkező vezérlőszelepek terhelésérzékelő jelet továbbítanak a hidraulika rendszerhez és kézzel vagy mágnesszelepekkel működtethetők. Jobb felső—A vezérlőszelep a kitoló vagy a visszahúzó körbe irányítja az olajat. A terhelésérzékelő vezetéket ahhoz a körhöz csatlakoztassa, amelyik a nyomást igényli. A példában egy pótkocsi billentő munkahenger látható, melyet teljesen lesüllyesztett helyzetben mechanikus ütköző támaszt alá. A terhelés-érzékelő jel kivezérli a szivattyút, ha nyomásra van szükség. Ha nincs rá szükség, a nyomás alacsony marad. FONTOS: A kör lehetővé teszi a munkahenger "lesüllyedését" a terhelés-érzékelő vezetéken (C) keresztül. Ha a működéshez nem engedélyezett a szivárgás, akkor a 3. példát kell követni. Bal alsó—A vezérlőszelep a kitoló vagy a visszahúzó körbe irányítja az olajat, mindkettő magas nyomást igényel. A terhelésérzékelő vezetéket a vezérlőszelep elé, a nyomóághoz csatlakoztassa. MEGJEGYZÉS: A rendszer a maximális, 20000 kPa (200 bar; 2900 psi) nyomást fogja biztosítani egészen addig, amíg a terhelésérzékelő vezeték csatlakoztatva van. Egy példa lehet a becsukható munkaeszköz, ahol a munkahengerek kitolásához és visszahúzásához nyomásra van szükség. Jobb alsó—A hidromotor fordulatának szabályozásához nyomáskompenzált áramlásszabályozó szelepet használ. A terhelés-érzékelő vezetéket a vezérlőszelep után, a nyomóághoz csatlakoztassa. MEGJEGYZÉS: A hidromotor fordulata ingadozhat, amikor más hidraulikus funkció a nyomás változását okozza. Az ingadozást nyomáskompenzált áramlásszabályzó szelep használatával csökkentheti a minimumra. | OURX935,000008D-35-20080115 |
|