A lengéshatárolók használataAz oldalirányú mozgás minimumra csökkentéséhez helyezze a határoló betéteket (A) az alsó pozícióba.  RXA0052493-UN-28MAR01
Alsó helyzetben lévő lengés stabilizáló blokkok  RXA0090041-UN-04AUG06
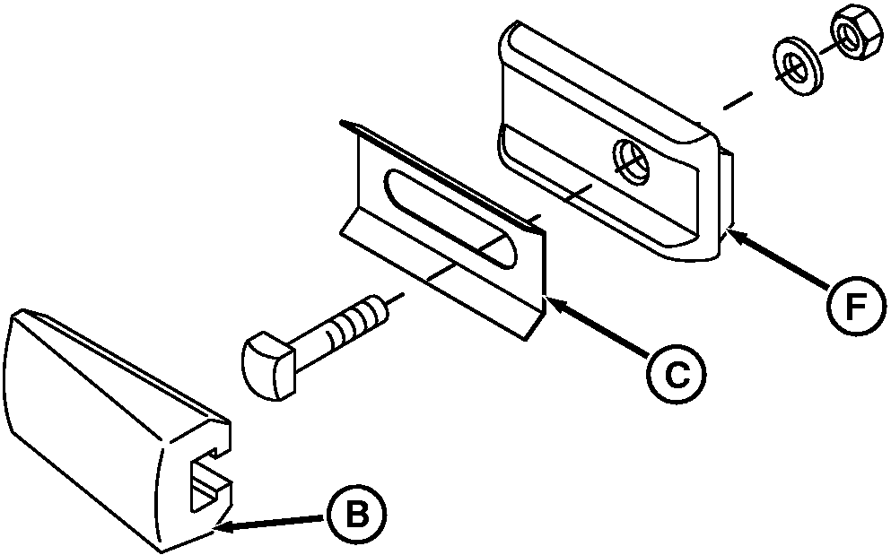
Tegye be a hézagolót az ütközőelem és távtartó közé  RXA0110775-UN-09SEP10
Távolság a gumiabroncsok között A - Lengés határoló betétek B - Ütköző C - Hézagoló alátét D - Hézag a gumiabroncsok és fülke között E - Távolság a gumiabroncsok között F - Távtartó Az ütköző (B) beállításához lazítsa fel az anyát és csúsztassa előre vagy hátra attól függően, hogy mennyi szabad lengést akar hagyni. Szerelje a stabilizáló blokkokat felső helyzetbe, hogy leeresztéskor a vonókapcsoló oldalirányban kilenghessen. Az oldalmozgás a hárompont-emelő felemelésekor le van korlátozva. MEGJEGYZÉS: A kívánt oldallengés beállításához szükség szerint használja a hézagolókat. A hézagolók a John Deere kereskedőtől beszerezhetők. Ha a hárompont-emelő oldallengésének megszüntetéséhez a lengéshatároló betéteket már nem lehet tovább állítani, helyezzen be hézagolókat. FONTOS: A gumiabroncsok és a sárvédők között legalább 25 mm (1 in.) hézagnak (D) kell lennie. Annak elkerülés érdekében, hogy az emelőkarok beleérjenek valamibe, a kerekek távolsága (E) legyen legalább: - 3N Kategóriájú hárompont-emelő —1,09 m (43 in.)
- 3 Kategóriájú hárompont-emelő —1,17 m (46 in.)
- 4N Kategóriájú hárompont-emelő — 1,17 m (46 in.)
| OURX935,00000A4-35-20100920 |
|