A vonórúd terhelésére vonatkozó korlátozások betartásaFONTOS:  RXA0090815-UN-14SEP06
Vonórúd  RXA0090722-UN-14SEP06
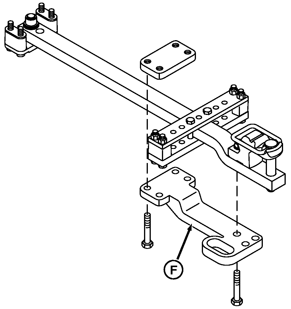
Nagy terhelhetőségű vonórúd, tartóval A - Vonórúd B - Kardántengely C - Méretek D - Rövid helyzet E - Hosszú helyzet F - Nagy terhelhetőségű tartó A nehéz munkaeszközök egyenetlen talaj és nagy sebesség esetén túlzott terhelést okozhatnak a vonórúdon. Ne haladja meg a vonórúdon a következő táblázatban található, az adott vonórúd (A) hosszra, helyzetre vonatkozó maximális megengedett statikus terhelést. FONTOS: Ha a maximális statikus függőleges terhelés meghaladja a 2245 kg-ot (4950 lb), a nagy terhelhetőségű vonórudat kell használni. MEGJEGYZÉS: A vonórudaknál speciális csavarokat használnak. Ha a csavarokat cserélni kell, forduljon a John Deere kereskedőhöz. A 4-es kategóriájú vonórúdhoz használja a nagy terhelhetőségű tartót (F) és a csavarokat az előírt nyomatékra húzza meg, ha a maximális statikus függőleges terhelés meghaladja a 2245 kg-ot (4950 lb). | Részegység | Méret | Specifikáció | | Nagy terhelhetőségű vonórúdtartó | | Tartó csavarok | Meghúzási nyomaték | 430 Nm (318 lb-ft) |
A vonórúd terhelhetőségének korlátai a vonórúd helyzetétől, hosszától és a TLT típusától függenek |
|---|
Traktor modell és vonórúd kategória | TLT tengely (B) | TLT-tengely vége és a vonócsap furatának távolsága (C) | Vonórúd helyzete | Maximális függőleges vonórúd terhelés |
|---|
8260R, 8285R, és 8310R 3. kategóriás vonórúddal | Standard 1000 ford/perc, 20 bordás, 45 mm (1 3/4 in.) átmérőjű tengely | 500 mm (20 in.) | Mellső furat (E), hosszú helyzet | 1837 kg (4050 lb) | 8260R, 8285R, és 8310R 3. kategóriás vonórúddal | Opciós 540 ford/perc, 6 bordás, 35 mm (1 3/8 in.) átmérőjű tengely | 350 mm (14 in.) | Hátsó furat (D), rövid helyzet | 2700 kg (6000 lb) | 8260R, 8285R, és 8310R 3. kategóriás vonórúddal | Opciós 1000 ford/perc, 21 bordás, 35 mm (1 3/8 in.) átmérőjű tengely | 400 mm (16 in.) | Mellső furat (E), hosszú helyzet | 1837 kg (4050 lb) | 8335R és 8360R 4. kategóriás vonórúddal | Standard 1000 ford/perc, 20 bordás, 45 mm (1 3/4 in.) átmérőjű tengely | 500 mm (20 in.) | Egyfuratos vonórúd | 2245 kg (4950 lb) | 8335R és 8360R 4. kategóriás vonórúddal | Opcionálisan 540 ford/perc, 6 bordás, 35 mm (1 3/8 in.) átmérőjű tengely | N/A | N/A | N/A | 8335R és 8360R 4. kategóriás vonórúddal | Opciós 1000 ford/perc, 21 bordás, 35 mm (1 3/8 in.) átmérőjű tengely | 400 mm (16 in.) | Egyfuratos vonórúd | 2245 kg (4950 lb) | 8260R, 8285R, 8310R, 8335R és 8360R 4. kategóriás vonórúddal és nagy teherbírású vonórúd tartóval | Standard 1000 ford/perc, 20 bordás, 45 mm (1 3/4 in.) átmérőjű tengely | 500 mm (20 in.) | Egyfuratos vonórúd | 4990 kg (11000 lb) | 8260R, 8285R, 8310R, 8335R és 8360R 4. kategóriás vonórúddal és nagy teherbírású vonórúd tartóval | Opciós 540 ford/perc, 6 bordás, 35 mm (1 3/8 in.) átmérőjű tengely | Nem ajánlott | 8260R, 8285R, 8310R, 8335R és 8360R 4. kategóriás vonórúddal és nagy teherbírású vonórúd tartóval | Opcionálisan 1000 ford/perc, 21 bordás, 35 mm (1 3/8 in.) átmérőjű tengely | 400 mm (16 in.) | Egyfuratos vonórúd | 4990 kg (11000 lb) | A 3-as kategóriájú vonórúd 38 mm-es (1.5 in.) vonócsapot használ. A 4-es kategóriájú vonórúd 51 mm-es (2.0 in.) vonócsapot használ. |
| OURX935,00000A5-35-20100920 |
|