A munkaeszköz csatlakoztatása a gyorskapcsoló kerethez RXA0087968-UN-21MAR06
 RXA0101383-UN-01APR09
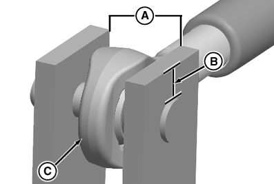
Kar A - Gyorskapcsoló reteszelő karja B - Hárompont-emelő vezérlőkar
VIGYÁZAT: Személyi sérülés és a gép rongálódásának elkerülése érdekében, bármilyen munkagép felkapcsolásakor tegye a sebességváltót PARK állásba, és ellenőrizze a hárompont-emelő teljes mozgási tartományát ütközés, szorulás, vagy a TLT szabadon hagyása szempontjából, amikor a munkagép fel van kapcsolva!
Ne álljon a traktor és a munkagép közé! Húzza fel a keret reteszelő karjait (A). Süllyessze le a hárompont-emelőt annyira, hogy az emelőkarok a munkaeszköz függesztő csapjai alá kerüljenek. Tolasson hátra a munkaeszközhöz. Emelje meg a hárompontot, hogy a munkagép csapjai beakadjanak a horgokba! VIGYÁZAT: A személyi sérülés, vagy anyagi kár elkerülése érdekében ellenőrizze a munkagép helyes felkapcsolását! A helytelen csatlakoztatás esetén a munkaeszköz a kerekek fölött átugorva nekiütközhet a traktor fülkéjének.
A keret reteszelő karjait lenyomva rögzítse a munkagépet a gyorskapcsoló kerethez! Csatlakoztassa a hidraulika tömlőket és az elektromos csatlakozókat! FONTOS: Ellenőrizze, hogy a munkagép nem ütközik-e neki a traktornak. Szükség lehet a vonórúd eltávolítására. A függesztőmű vezérlőkarját (B) lassan húzva emelje meg a munkagépet. Süllyessze le a munkaeszközt a talajra és állítsa be az emelési magasság korlátozást, ha szükséges. FONTOS:  RXA0086593-UN-09FEB06
Munkaeszköz függesztőpont (3-es kategória) A - Távolság B - Távolság C - Villa Ha a középső függesztőrúd közvetlenül a munkaeszközhöz van csatlakoztatva, mérje meg a felső függesztési nyílást (A) és a magasságot a csap (B) felett. Ha a munkaeszköz középső függesztőpontjának nyílása 70 mm-nél (2,8 in.) nagyobb, vagy a furat körül 14 mm-nél (0,6 in.) kisebb hely van, akkor használjon hézagolókat a villa (C) csuklásának határolására.- Ha 4N kategóriájú hárompont függesztéshez csatlakoztat, akkor a középső függesztőrúd forgáspontjának mindkét oldalán használjon hézagolókat.
| OURX935,0000819-35-20090401 |
|