Néhány keskeny soros/nyomtávos munkaművelet esetén szükség lehet a hárompont-emelő 3N kategóriára történő átalakítására. A gyorskapcsoló keret átalakítható 3-as, vagy 3N-es kategóriára. Hacsak lehetséges, a 3-as kategóriát használja, különösen nehéz terhelésnél.

RXA0085783-UN-10JAN06
Távtartó és ütközőblokk
A - Távtartó
B - Ütközőblokk
Helyezzen távtartót (A) az emelőkar külső részére 3N kategória esetén.
FONTOS: Ha a gyorskapcsoló keret 3N kategóriára van átalakítva, akkor a lengéshatároló távtartót (A) a munkaeszköz sérülésének elkerülése érdekében az emelőkarok külső oldalára kell helyezni.
Csökkentse a hézagot a minimumra az ütközőblokk (B) beállításával.
Húzza meg biztonságosan.

RXA0098644-UN-28JUL08
Gyorscsatlakozó

RXA0085782-UN-10JAN06
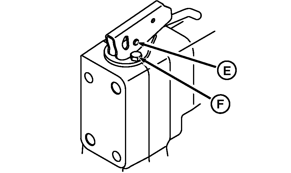
Gyorscsatlakozó
A - Rögzítő csavarok
B - Csavarok
C - Bal oldali tag
D - Jobb oldali tag
E - C-kapocs és csap
F - Csavar
Támassza alá a gyorskapcsoló keret középső részét. Vegye ki a csap rögzítő csavarjait (A) és a csapokat a vonókarokból. Vegye ki az oldaltag csavarjait (B).
Cserélje fel a gyorskapcsoló oldaltagjait, a bal oldali tagot (C) jobbra és a jobb oldali tagot (D) balra. Húzza meg a csavarokat 320 ±64 Nm nyomatékkal.
Kösse le a reteszelő karokat a C-kapocs és a csap (E) levételével.
Vegye ki a csavart (F) az alaplemezből és fordítsa át úgy, hogy a füle befelé nézzen.
Csavarja vissza a csavarokat, és húzza meg őket szorosan.
Kösse vissza a karokat.