A nyolcpozíciós kerék beállításai VIGYÁZAT: Kerülje a lehetséges baleseteket. Hibás meghúzási sorrend és meghúzási eljárás személyi sérülést, vagy a gép károsodását eredményezheti. A kerékcsavarok nagyon fontosak, rendszeres meghúzást igényelnek.
MEGJEGYZÉS: Az A ... H pozíciók minden 540 mm (20.8 in.) széles, vagy keskenyebb gumiabroncsok esetén használható.  RXA0062856-UN-01OCT02
A kerékpánt beállításai
MEGJEGYZÉS: A nyomtávokat a gumiabroncsok középvonalai között kell mérni. Használja a jobboldalon látható ábrákat a keréktárcsának és a kerékpántnak a kívánt nyomtávhoz történő beállításához. Csillag alakú meghúzási sorrendet alkalmazva húzza meg a keréktárcsát a kerékpánthoz rögzítő csavarokat az előírt nyomatékra. | Részegység | Méret | Specifikáció | | Keréktárcsát a kerékpánthoz rögzítő csavarok | Meghúzási nyomaték | 310 Nm (230 lb-ft) |
Csillag alakú meghúzási sorrendet alkalmazva húzza meg a keréktárcsát a kerékagyhoz rögzítő anyákat az előírt nyomatékra. | Részegység | Méret | Specifikáció | | Keréktárcsát a kerékagyhoz rögzítő anyák | Meghúzási nyomaték | 600 Nm (450 lb-ft) |
Húzza meg újra a csavarokat 3 üzemóra, majd újabb 10 üzemóra után. Az első munkahét alatt naponta húzza meg a csavarokat. Ha kell, állítsa be a sárvédőket és a kormányütközőket a következő oldalon látható táblázatok és ábrák alapján.  RXA0062368-UN-01OCT02
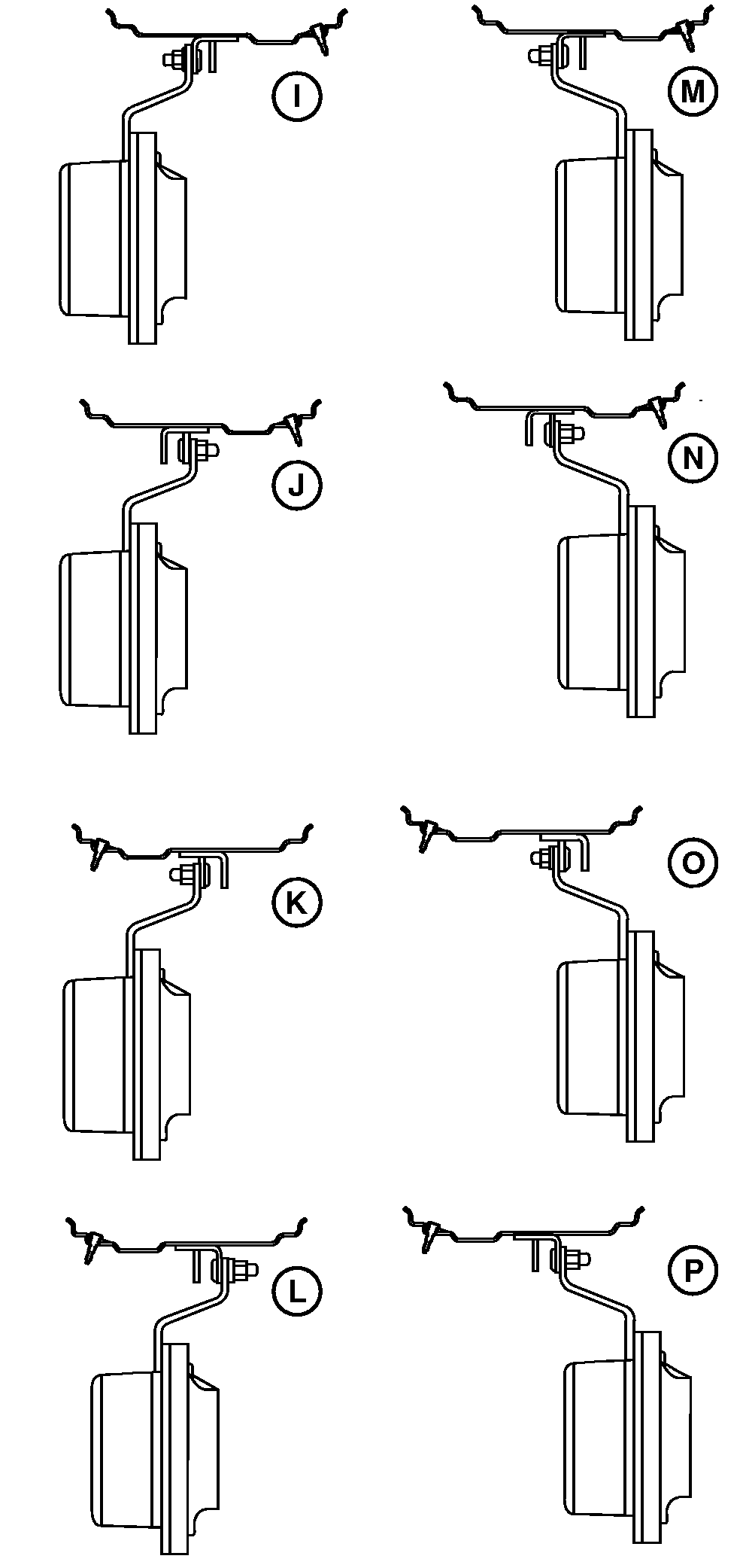
Széles kerékpánt beállítások
VIGYÁZAT: Kerülje a lehetséges baleseteket. Hibás meghúzási sorrend és meghúzási eljárás személyi sérülést, vagy a gép károsodását eredményezheti. A kerékcsavarok nagyon fontosak, rendszeres meghúzást igényelnek.
MEGJEGYZÉS: Az I és P közötti pozíciók a 600 és 620 mm-es gumiabroncsokhoz használhatók. MEGJEGYZÉS: A nyomtávokat a gumiabroncsok középvonalai között kell mérni. Használja a jobboldalon látható ábrákat a keréktárcsának és a kerékpántnak a kívánt nyomtávhoz történő beállításához. Csillag alakú meghúzási sorrendet alkalmazva húzza meg a keréktárcsát a kerékpánthoz rögzítő csavarokat az előírt nyomatékra. | Részegység | Méret | Specifikáció | | Keréktárcsát a kerékpánthoz rögzítő csavarok | Meghúzási nyomaték | 310 Nm (230 lb-ft) |
Csillag alakú meghúzási sorrendet alkalmazva húzza meg a keréktárcsát a kerékagyhoz rögzítő anyákat az előírt nyomatékra. | Részegység | Méret | Specifikáció | | Keréktárcsát a kerékagyhoz rögzítő anyák | Meghúzási nyomaték | 600 Nm (450 lb-ft) |
Húzza meg újra a csavarokat 3 üzemóra, majd újabb 10 üzemóra után. Az első munkahét alatt naponta húzza meg a csavarokat. Ha kell, állítsa be a sárvédőket és a kormányütközőket a következő oldalon látható táblázatok és ábrák alapján. | OURX935,0000AC8-35-20090819 |
|