A fényszórók beállítása RXA0107269-UN-03JUN10
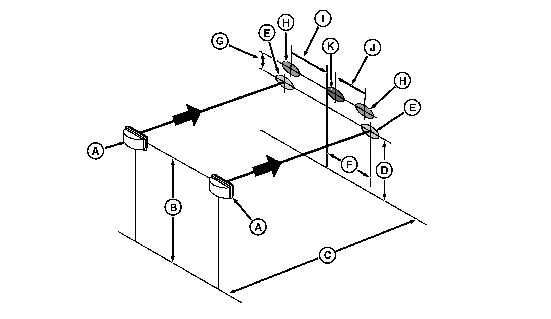
A - Tompított fényszórók B - Távolság, tompított fényszóró középvonaltól a talajig C - Távolság, 7,5 méter (25 ft) D - Vízszintes vonal a falon E - Tompított fényszóró középvonala F - Távolság, 914 mm (36 in.) G - Távolság, 355 mm (14 in.) (Tompított fényszóró középvonalától a távolsági fényszóró (reflektor) középvonaláig) H - Távolsági fényszóró középvonala I - Távolság, 787 mm (31 in.) (Távolsági fényszóró középvonalától a traktor középvonaláig) J - Távolság, 635 mm (25 in.) (Távolsági fényszóró középvonalától a belső motorháztető fényszóró középvonaláig) K - Belső motorháztető fényszóró középvonala
Álljon a traktorral vízszintes területre úgy, hogy a tompított fényszórók (A) 7,5 m (25 ft) távolságra legyenek egy függőleges faltól. Kapcsolja fel a tompított fényszórókat Mérje meg a távolságot a (B) tompított fényszóró és a talaj között. Húzzon egy vízszintes vonalat a falra, a tompított fényszóró középvonalával azonos magasságban. A falon egyenként jelölje be a tompított fényszórók középpontjait. A falon határozza meg a tompított fényszórók középpontja közötti távolság közepét, és oda húzzon egy függőleges vonalat. A tompított fényszórók középpontja és a középvonal közti távolságnak (F) 914 mm-nek (36 in.) kell lennie. Kapcsolja fel a távolsági fényszórót (reflektort). Állítsa be úgy a távolsági fényszórót, hogy a fényes terület körvonala (H) legalább a (B) távolság egy tizedére legyen a tompított fényszóró középpontjai (E) felett. A falon jelölje be mindegyik távolsági fényszóró középpontját (H), majd húzzon egy vízszintes középvonalat a távolsági fényszórók középpontjai között. A távolsági fényszórók középpontja és a középvonal közti távolságnak (I) 787 mm-nek (31 in.) kell lennie. Ellenőrizze, hogy a belső motorháztető lámpák bekapcsolásra vannak-e beállítva, majd kapcsolja fel a munkalámpákat. A belső motorháztető lámpa fénynyaláb középpontjának (K) a távolsági fényszóró középpontjai között lévő vízszintes vonalon kell lennie. A belső motorháztető lámpa fénynyaláb középpontja (K) és a lámpa középvonal közti távolságnak 635 mm-nek (25 in.) kell lennie.
| OURX935,0000BFA-35-20100607 |
|