A rápattintós típusú STC® csatlakozók javítása és csatlakoztatása RXA0080095-UN-31MAR05
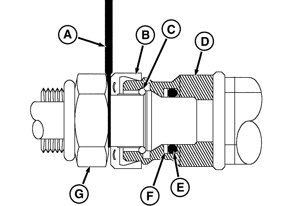
A - JDG1885 STC szerszám B - Kioldó gyűrű C - Rögzítőgyűrű D - Csatlakozó aljzat (STC csatlakozó) E - O-gyűrű F - Támasztó gyűrű G - Csatlakozó dugó (STC csatlakozó)
VIGYÁZAT: Ne kösse szét az STC csatlakozót, amikor nyomás alatt van. A nyomás elengedésének elmulasztása a csatlakozók szétkötése előtt személyi sérülést, a szerkezet károsodását, vagy mindkettőt okozhatja.
MEGJEGYZÉS: A rápattintós csatlakozókat acél csöveken, tömlőcsatlakozásoknál használják és különböző méretekben léteznek. A JDG1885 STC szerszámot (A) úgy alakították ki, hogy távtartóként mozdítsa befelé a kioldó gyűrűt (B), mely a rögzítő gyűrűt (C) oldja ki. A JDG1885 STC szerszám a John Deere kereskedőtől szerezhető be. FONTOS: Ne feszítse szét a csatlakozót más szerszámmal. Ha szerszámmal feszíti szét, akkor megsérülhet a csatlakozó és a szerszám is. Helyezze a megfelelő STC szerszámot a kioldó gyűrű és a csatlakozó közé. Távolítsa el a tömlőt, vagy a csövet a csatlakozóból. MEGJEGYZÉS: Ha a rögzítő gyűrű (C), a támasztó gyűrű (F), vagy az O-gyűrű (E) sérült, szerezzen be a John Deere kereskedőtől javító készletet és cserélje ki mind a hármat.
Mielőtt a rápattintós csatlakozót csatlakoztatná: Ellenőrizze a csatlakozó felületeket, hogy nincsenek-e kicsorbulva, megkarcolódva, nincs-e rajtuk lelapolódás. Ellenőrizze az O-gyűrűt, a támasztó gyűrűt és a rögzítő gyűrűt, hogy nincsenek-e megkopva, vagy megsérülve. Ügyeljen rá, hogy a foglalatos vég (D) és a dugós vég (G) tiszta, szennyeződéstől mentes legyen. Ügyeljen rá, hogy a kioldó gyűrű (B) a dugós végű idomon legyen. Nyomja össze a csatlakozó feleket, amíg egy határozott kattanás, és kis ütközés nem érezhető. Húzza meg a tömlőket, hogy ellenőrizze a csatlakozó felek összekapcsolódását.
Az STC az Aeroquip Corporation bejegyzett márkaneve
| OURX935,0000C02-35-20091019 |
|