MEGJEGYZÉS: A szűrőbetét és szűrőház tömítés cseréjéhez kérje a John Deere forgalmazó segítségét.
Állítsa le a motort.

RXA0089770-UN-14JUL06
Távolítsa el a csavarokat

RXA0089818-UN-14JUL06
Távolítsa el a rugós kazettát és a szűrőbetétet

RXA0089773-UN-14JUL06
Tömítés
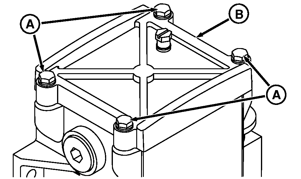
A - Csavarok
B - Burkolat
C - Rugós kazetta
D - Kar
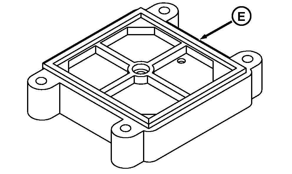
E - Tömítés
MEGJEGYZÉS: Engedje le az üzemanyagot egy alkalmas tárolóedénybe és kezelje a megfelelő módon.
Nyissa ki a leeresztő szelepet és eressze le az üzemanyagot a pohárból.
Távolítsa el a csavarokat (A) és a fedelet (B).
Vegye ki a rugós kazettát (C).
Emelje ki a szűrőbetétet a karral (D).
Mossa át a szűrőbetétet tiszta gázolajban vagy mosóbenzinben.
Vizsgálja meg a szűrő sérülését. Ha sérült, cserélje ki újra.
Szerelje be a szűrőt.
Szerelje be a rugós kazettát.
Vizsgálja meg a fedél tömítést (E) és cserélje ki ha szükséges.
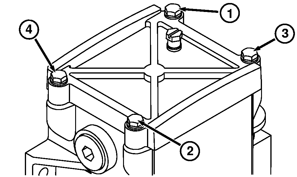
Szerelje be az új szűrőt, rugós kazettát, fedelet és a négy csavart. Hagyja a csavarokat kézzel meghúzva.

RXA0089820-UN-14JUL06
A csavarok beszerelése
Húzza meg a csavarokat a jelzett sorrendnek megfelelően.
Légtelenítse az üzemanyagrendszert és ellenőrizze az esetleges tömítetlenséget.