Examples Using Load-Sensing Hydraulic System—Power-Beyond RXA0085800-UN-10JAN06
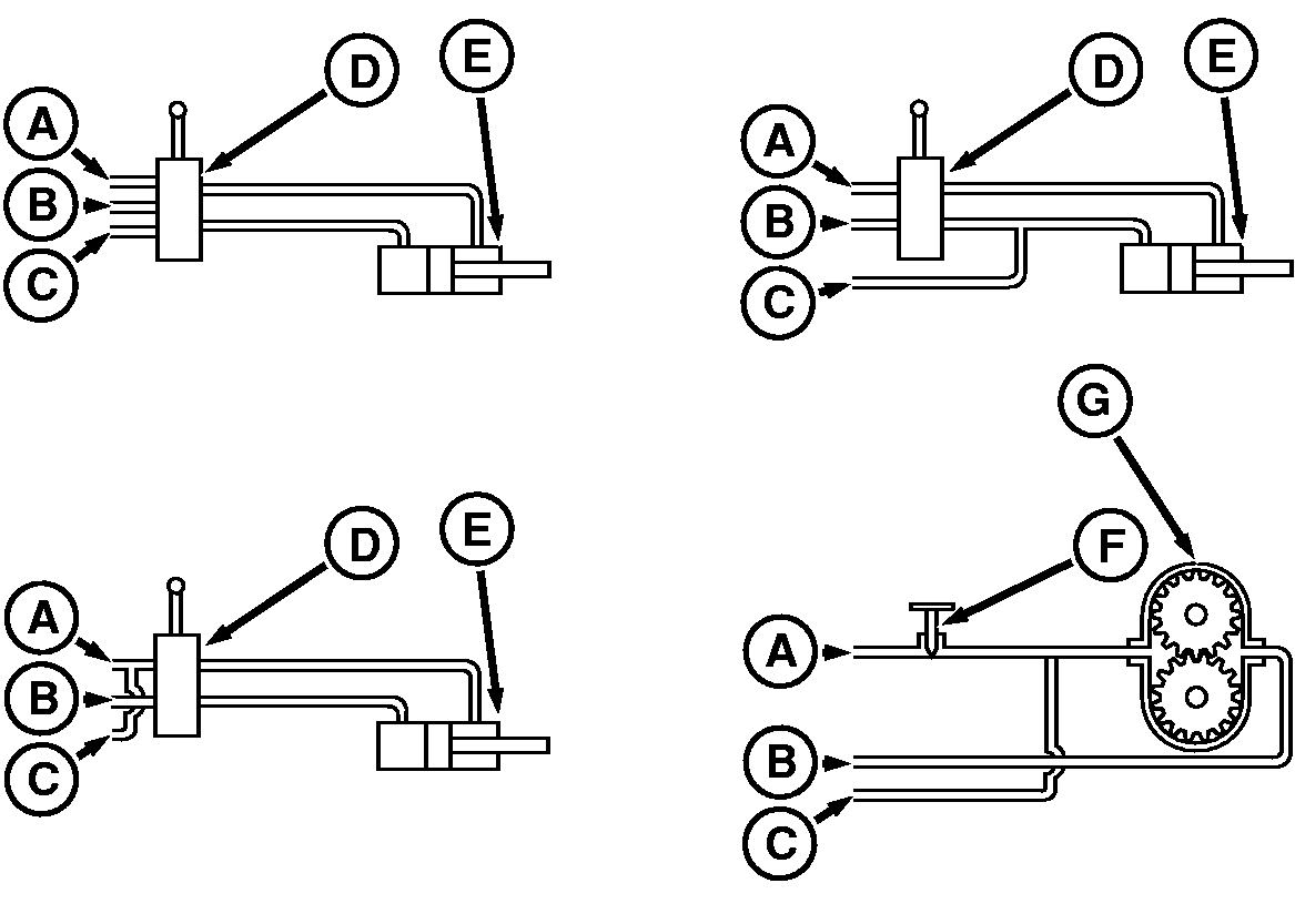
Four Examples of Load-Sensing Hydraulic System — Power Beyond A - Pressure Line B - Return Line C - Load-Sense Line D - Control Valve E - Cylinder F - Pressure-Compensated Flow Valve G - Hydraulic Motor
Upper Left —Control valves with a load-sense provide a load-sense signal to hydraulic system and can be operated manually or by solenoids. Upper Right —Control valve directs oil into extend or retract circuits. Connect load-sense line to circuit requiring pressure. An example is a wagon lift cylinder with load supported by mechanical stops in full down position. Load-sense signals pump when increased pressure is needed. Pressure remains low when not needed. IMPORTANT: Circuit allows cylinder "leak-down" through load-sense line (C). If leakage is not acceptable for operation, use Example 3. Lower Left—Control valve directs oil into extend or retract circuits, either requiring high pressure. Connect load-sense line to pressure line before control valve. NOTE: System will maintain a maximum pressure of 20000 kPa (200 bar) (2900 psi) as long as power-beyond hoses are connected. An example is a folding implement, where pressure is needed to extend or retract cylinders. Lower Right—Pressure-compensated flow control valve is used to regulate hydraulic motor speed. Connect load-sense line to pressure line after control valve. NOTE: Motor speed can fluctuate when other functions cause system pressure change. Minimize fluctuations by installing a pressure-compensated flow control valve. | OURX935,000008D-19-20080115 |
|