Aiming Headlights RXA0107269-UN-03JUN10
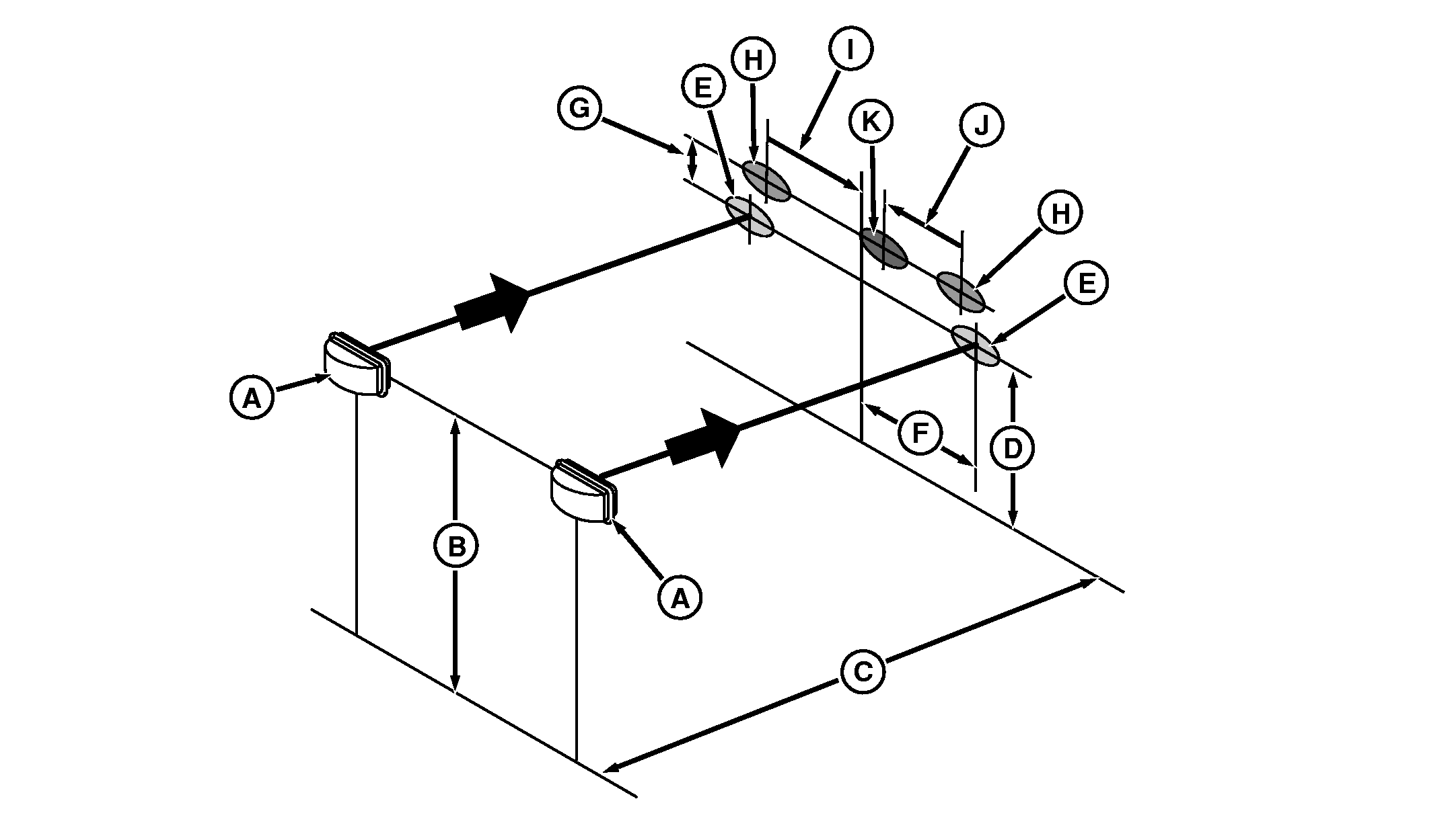
A - Low Beam Road Lights B - Distance, Road Light Low Beam Center To Ground C - Distance, 7.5 meters (25 ft) D - Horizontal Line on Wall E - Road Light Low Beam Center F - Distance, 914 mm (36 in.) G - Distance, 355 mm (14 in.) (Road Light Low Beam Center To High Beam Center) H - Road Light High Beam Center I - Distance, 787 mm (31 in.) (Road Light High Beam Center To Tractor Center Line) J - Distance, 635 mm (25 in.) (Road Light High Beam Center To Inner Hood Light Beam Center) K - Inner Hood Light Beam Center
Park tractor on a level surface with low beam road lights (A) 7.5 meters (25 ft) (C) from a straight wall. Turn on low beam road lights. Measure the distance (B) from center of road light low beams to the ground. Mark a horizontal line on the wall at the same height as centers of road light low beams. On the wall, mark each road light low beam center. On the wall, determine and mark vertical center line between the centers of the road light low beams. Distance (F) between centers of the road light low beams and center line should be 914 mm (36 in.). Turn on road light high beam. Adjust road light high beams so edge of bright area (H) is at least one tenth of distance (B) above road light low beam centers (E). On the wall, mark each road light high beam center (H), then mark a horizontal center line between the centers of the road light high beams. Distance (I) between centers of the road light high beams and center line should be 787 mm (31 in.). Make sure inner hood lights are configured as ON, then turn on field lights. Inner hood light beam center (K) should be on the horizontal line between centers of the road light high beams. Distance (J) between inner hood light beam center (K) and light center line should be 635 mm (25 in.).
| OURX935,0000BFA-19-20100607 |
|