Using Sway Blocks RXA0052493-UN-28MAR01
Sway Blocks in Lower Position  RXA0090041-UN-04AUG06
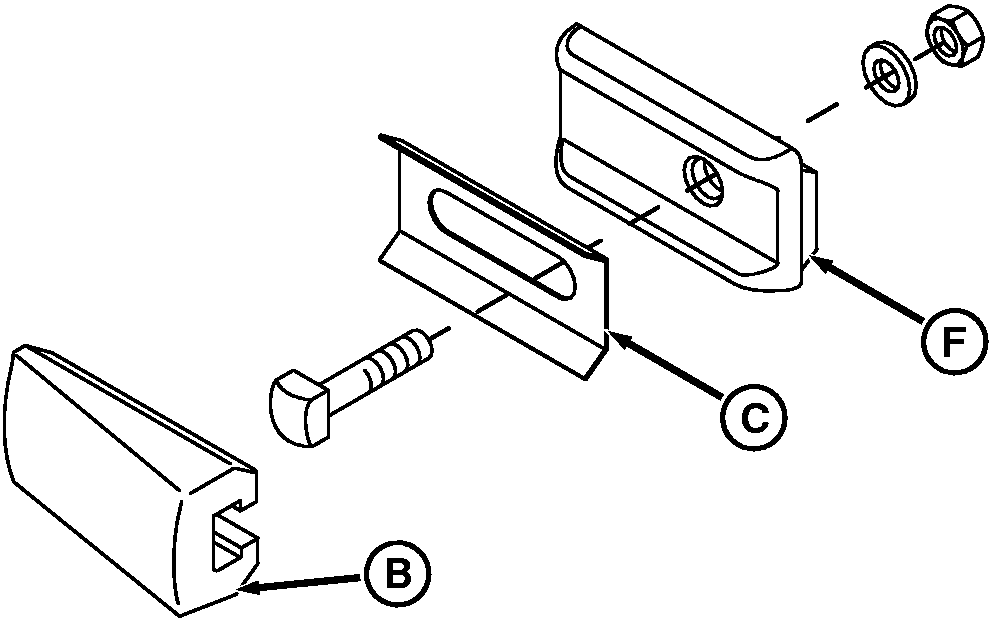
Install Shim Between Bumper Block and Spacer  RXA0089661-UN-04AUG06
Distance Between Tires A - Sway Block B - Bumper Block C - Shim D - Distance Between Tires and Cab E - Distance Between Tires F - Spacer
Install sway blocks (A) in lower position to minimize side sway of hitch. Adjust bumper (B) by loosening lock nut and sliding forward or rearward as needed to limit the amount of sway. Mount sway blocks in upper position to allow side sway when hitch is lowered. Side sway is prevented when hitch is raised. NOTE: Tires must have at least 25 mm (1.0 in.) clearance distance (D) with fenders. To prevent draft link interference, be sure distance (E) between tires is: - Category 3N Hitch—1.09 m (43 in.)
- Category 3 Hitch—1.17 m (46 in.)
Adjusting Bumper Blocks Bumper blocks (B) are located on draft arms and are used to limit hitch sway. To adjust clearance, loosen lock nut and slide bumper block forward or rearward as needed. Tighten lock nut. Converting to Category 3 or 3N Tractors are equipped with factory installed quick coupler for Category 3 applications. To convert to category 3N, move spacer (F) to outside of draft link. Additional Adjustment: If there is not enough adjustment in bumper block to remove hitch sway, install shims (C) as necessary between bumper block (B) and draft link. Use R205716 shim (C) to provide desired sway control. Shims can be purchased from your John Deere™ dealer. | ZE59858,0000461-19-20110119 |
|