MFWD Fender Settings—Deluxe Pivoting Fenders
Bracket PositionsThe bracket (A) that contacts fender stop can be replaced as it wears.  RXA0112129-UN-14FEB11
A - Bracket To prevent damage to fender by contact with wheel or hood, place fender bracket and fender stopper in recommended positions.  RXA0112131-UN-09FEB11
NOTE: The following positions are only recommendations. Depending on tire size, fender size, and steering stop position, fenders may need additional adjustment from recommended positions listed below.
Stopper PositionsNOTE: The following positions are only recommendations. Depending on tire size, fender size, and steering stop position, fenders may need additional adjustment from recommended positions listed below.  RXA0112135-UN-07JAN11
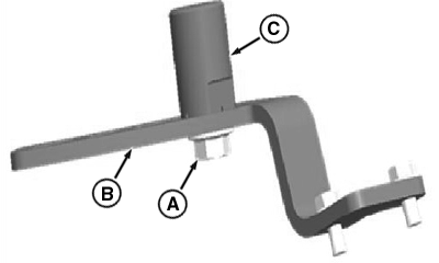
A - Screw B - Bracket C - Stopper Insert screw (A) into bracket (B). Screw on stopper (C) from above.Stopper (C) can be replaced as it wears. Some adjustment may be necessary if fender contacts hood on tight turns. Move stopper (C) towards axle, from G position to A position, to move fender further away from hood. Some adjustment may be necessary if tire contacts fender on tight turns. Move stopper (C) away from axle, from A position to G position, to move fender further away from tire.  RXA0112126-UN-11FEB11
| ZE59858,00004A0-19-20110215 |
|