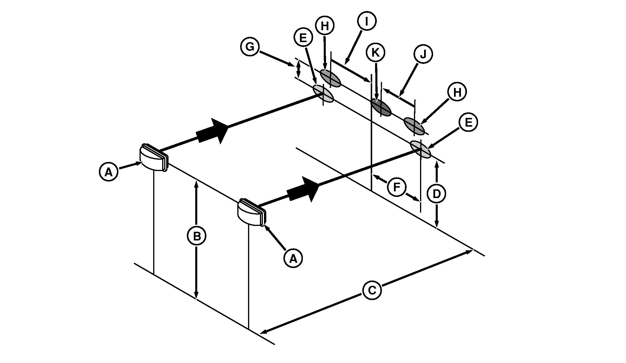
Fahrscheinwerfer ausrichten

RXA0107269-UN-03JUN10
A - Fahrscheinwerfer, Abblendlicht
B - Abstand, Mitte des Fahrscheinwerfer-Abblendlichts
zum Boden
C - Abstand, 7,5 m (25 ft)
D - Horizontale Linie an der Wand
E - Mitte des Fahrscheinwerfer-Abblendlichts
F - Abstand, 914 mm (36 in)
G - Abstand, 355 mm (14 in) (Mitte des Fahrscheinwerfer-Abblendlichts
zur Mitte des Fernlichts)
H - Mitte des Fahrscheinwerfer-Fernlichts
I - Abstand, 787 mm (31 in) (Mitte des Fahrscheinwerfer-Fernlichts
zur Traktor-Mittellinie)
J - Abstand, 635 mm (25 in) (Mitte des Fahrscheinwerfer-Fernlichts
zur Mitte des Lichts des inneren Motorhauben-Scheinwerfers)
K - Mitte des Lichts des inneren Motorhauben-Scheinwerfers
-
Den Traktor auf einer ebenen Fläche mit den Abblend-Fahrscheinwerfern
(A) in einem Abstand von 7,5 m (25 ft) (C) vor einer senkrechten
Mauer abstellen. Die Abblendlicht-Fahrscheinwerfer einschalten.
-
Abstand (B) zwischen der Mitte des Fahrscheinwerfer-Abblendlichts
und dem Boden messen.
-
Auf gleicher Höhe wie die Mitte des Abblendlichts eine
waagrechte Linie an der Wand anzeichnen.
-
Jeweils die Mitte des Abblendlichts an der Wand anzeichnen.
-
Jeweils ausgehend von der Mitte des Abblendlichts, die Mitte
zwischen den beiden Abblendlichtern feststellen und eine senkrechte
Linie an der Wand anzeichnen.
-
Der Abstand (F) zwischen der Mitte der Abblendlichter und der
Mittellinie sollte 914 mm (36 in) betragen. Wird dies nicht
gemessen, nachstellen.
-
Fahrscheinwerfer-Fernlicht einschalten.
-
Fernlicht so einstellen, dass die Kante des hellen Bereichs
(H) mindestens ein Zehntel des Abstands
(B) über den Mitten des Abblendlichts
(E) liegt.
-
Jeweils die Mitte (H) des Fernlichts an der Wand anzeichnen
und dann ausgehend von den Mitten der beiden Fernlichter eine waagrechte
Linie an der Wand anzeichnen.
-
Abstand (I) zwischen der Mitte des Fernlichts und der Mittellinie
sollte 787 mm (31 in) betragen.
-
Sicherstellen, dass die inneren Motorhauben-Scheinwerfer als
EIN konfiguriert sind, dann die Arbeitsscheinwerfer einschalten. Die
Mitte (K) des Lichts des inneren Motorhauben-Scheinwerfers muss sich
auf der waagrechten Linie zwischen den Mitten der Fernlichter befinden.
-
Der Abstand (J) zwischen der Mitte (K) des Lichts des inneren
Motorhauben-Scheinwerfers und der Mittellinie sollte 635 mm (25 in)
betragen.
|
|
TO84419,000022F-29-20121127
|
|