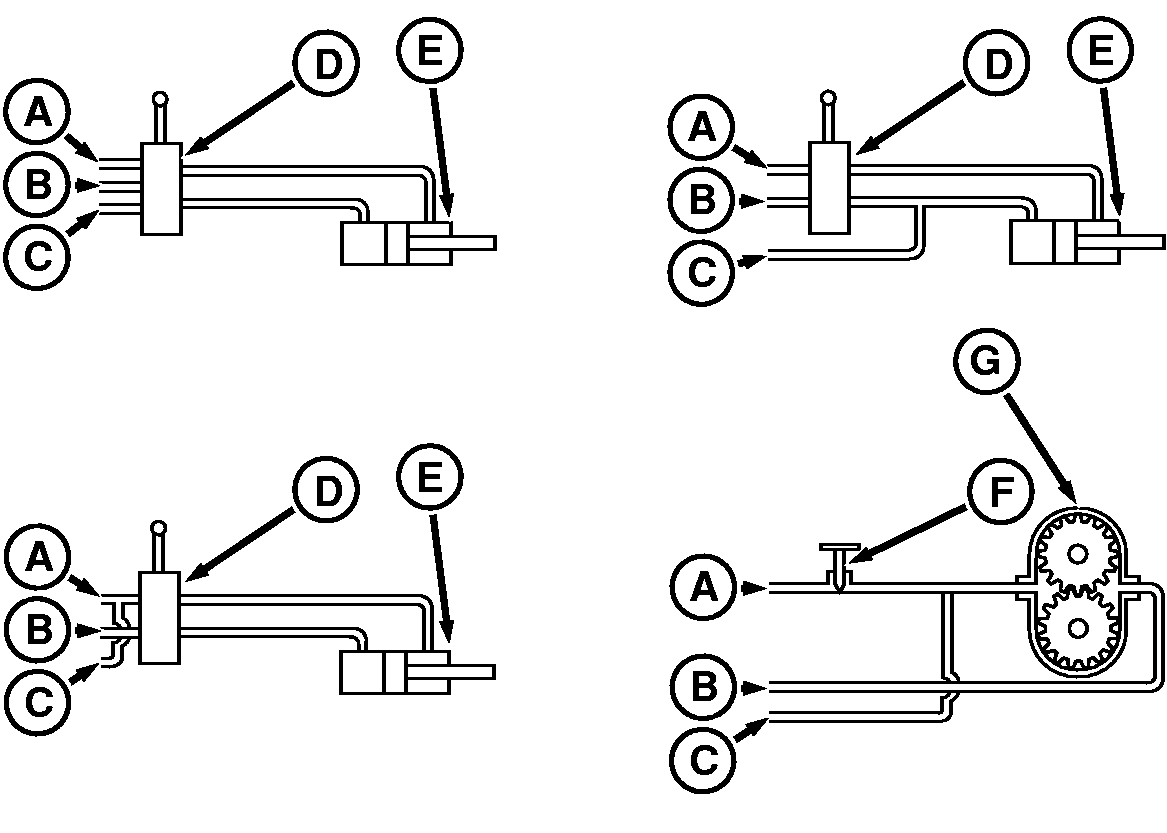
Beispiele für den Gebrauch des Pilotdruck-Hydrauliksystems—Zusatzdruckversorgung

RXA0085800-UN-10JAN06
Vier Beispiele für das Pilotdruck-Hydrauliksystem
– Zusatzdruckversorgung
A - Druckleitung
B - Rücklaufleitung
C - Pilotdruckleitung
D - Steuerventil
E - Zylinder
F - Stromregelventil
G - Hydraulikmotor
Oben Links — Die Steuerventile
mit Pilotdruck übermitteln dem Hydrauliksystem ein Pilotdrucksignal.
Sie können manuell oder per Magnetventil bedient werden.
Oben rechts – Das Steuerventil
führt Öl in die Aus- oder Einfahrkreise. Die Pilotdruck-Leitung
wird mit dem Kreis verbunden, das mit Druck versorgt werden muß.
Ein Beispiel hierfür ist ein belasteter Wagenhubzylinder, der
von einer mechanischen Anschlagvorrichtung auf der untersten Position
gehalten wird. Es werden Pilotdrucksignale übermittelt, wenn
erhöhter Druck benötigt wird. Anderenfalls bleibt der Druck
niedrig.
WICHTIG: Der Kreis erlaubt ein "Absinken" des Zylinders über
die Pilotdruck-Leitung (C). Ist Leckage für den Vorgang nicht
zulässig, nach Beispiel 3 vorgehen.
Unten Links – Das Stromregelventil
führt das Öl in Aus- oder Einfahrleitungen, in denen gleichermaßen
Hochdruck erforderlich ist. Die Pilotdruck-Leitung mit der Druckleitung
vor dem Steuerventil verbinden.
HINWEIS: Das System hält einen Höchstdruck von 20000
kPa (200 bar) (2900 psi) aufrecht, solange Schläuche am Anbaugerätanschluß
angeschlossen sind.
Ein Beispiel hierfür ist eine Klappvorrichtung, bei der
Druck zum Aus- und Einfahren der Zylinder benötigt wird.
Unten rechts – Mit Hilfe
des Stromregelventils kann die Drehzahl des Hydraulikmotors reguliert
werden. Die Pilotdruck-Leitung mit der Druckleitung hinter dem Stromregelventil
verbinden.
HINWEIS: Bei Veränderungen des Systemdrucks kann die Motorendrehzahl
schwanken. Schwankungen durch den Einbau eines Stromregelventils minimieren.
|
|
OURX935,000008D-29-20080115
|
|