-
Bei einigen Reihen-/Spurweiten ist das Umstellen auf Kategorie
3N notwendig. Die Schnellkupplung kann für Anbaugeräte der
Kategorien 3 oder 3N umgestellt werden. Wenn möglich, Kategorie
3 verwenden, insbesondere für schwere Lasten.

RXA0085783-UN-10JAN06
Distanzstück und Pufferanschlag
A - Distanzstück
B - Pufferanschlag
Distanzstück (A) an der Außenseite der Unterlenker
für Kategorie 3N anbringen.
WICHTIG: Wenn die Kupplung auf Kategorie 3N umgestellt wird,
muß das Distanzstück (A) des Stabilisierungsanschlags außen
am Unterlenker montiert werden, um Schäden am Gerät zu vermeiden.
-
Pufferanschlag (B) einstellen, um den Abstand minimal zu halten.
-
Mutter fest anziehen.
-

RXA0098644-UN-28JUL08
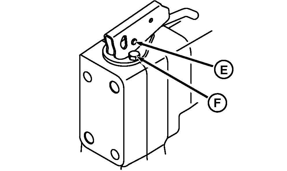
Schnellkupplung

RXA0085782-UN-10JAN06
Schnellkupplung
A - Sicherungsschrauben
B - Sechskantschrauben
C - Rahmen links
D - Rahmen rechts
E - C-Klemme und Stift
F - Sechskantschraube
Die Schnellkupplung in der Mitte stützen. Stift-Sicherungsschrauben
(A) und Stifte vom Unterlenker entfernen. Die Sechskantschrauben (B)
des Seitenglieds entfernen.
-
Die Seitenrahmen der Schnellkupplung vertauschen, den linken
Rahmen (C) nach rechts und den rechten Rahmen (D) nach links. Sechskantschrauben
mit 320 +/-64 Nm anziehen.
-
Verriegelungshebel durch lösen von C-Klemme und Stift (E)
entfernen.
-
Die Sechskantschraube (F) von der Verschleißplatte entfernen
und so drehen, daß die Zunge nach innen weist.
-
Sechskantschrauben anbringen und fest anziehen.
-
Hebel wieder anbringen.