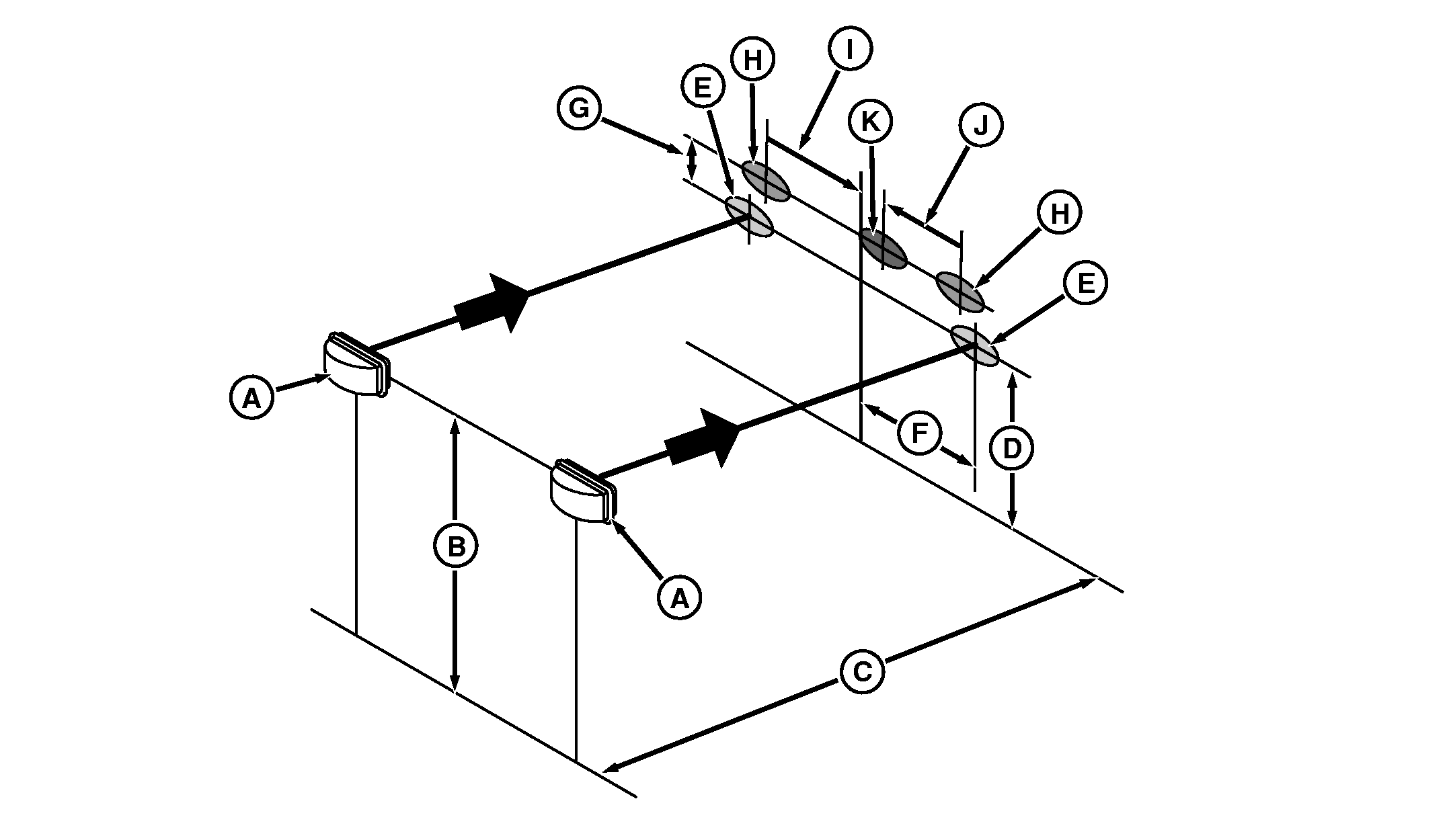
Scheinwerfer ausrichten

RXA0107269-UN-03JUN10
A - Fahrscheinwerfer
B - Abstand, Mitte des Abblendlichts zum Boden
C - Abstand, 7,5 m (25 ft)
D - Waagrechte Linie an der Wand
E - Mitte des Abblendlichts
F - Abstand, 914 mm (36 in.)
G - Abstand, 355 mm (14 in.) (Mitte des Abblendlichts
zur Mitte des Fernlichts)
H - Mitte des Fernlichts
I - Abstand, 787 mm (31 in.) (Mitte des Fernlichts
zur Mittellinie des Traktors)
J - Abstand, 635 mm (25 in.) (Mitte des Fernlichts
zur Mitte des inneren Scheinwerfers an der Motorhaube)
K - Mitte des inneren Scheinwerfers an der Motorhaube
-
Den Traktor auf einer ebenen Fläche mit dem Abblendlicht
(A) in einem Abstand von 7,5 m (25 ft) vor einer geraden Wand abstellen.
Das Abblendlicht einschalten.
-
Abstand (B) zwischen der Mitte des Abblendlichts und dem Boden
messen.
-
Auf gleicher Höhe wie die Mitte des Abblendlichts eine
waagrechte Linie an der Wand anzeichnen.
-
Jeweils die Mitte des Abblendlichts an der Wand anzeichnen.
-
Jeweils ausgehend von der Mitte des Abblendlichts, die Mitte
zwischen den beiden Abblendlichtern feststellen und eine senkrechte
Linie an der Wand anzeichnen.
-
Abstand (F) zwischen der Mitte des Abblendlichts und der Mittellinie
sollte 914 mm (36 in.) betragen.
-
Das Fernlicht einschalten.
-
Fernscheinwerfer so einstellen, dass die Kante des hellen Bereichs
(H) mindestens 1/10 des Abstands (B) über der Mitte des Abblendlichts (E) liegt.
-
Jeweils die Mitte (H) des Fernlichts an der Wand anzeichnen
und dann ausgehend von den Mitten der beiden Fernlichter, eine waagrechte
Linie an der Wand anzeichnen.
-
Abstand (I) zwischen der Mitte des Fernlichts und der Mittellinie
sollte 787 mm (31 in.) betragen.
-
Sicherstellen, dass die inneren Scheinwerfer an der Motorhaube
als EIN konfiguriert sind, dann die Feldbeleuchtung einschalten. Mitte
(K) des inneren Scheinwerfers an der Motorhaube sollte sich auf der
waagrechten Linie zwischen den Mitten der Fernlichter befinden.
-
Abstand (J) zwischen der Mitte (K) des inneren Scheinwerfers
an der Motorhaube und der Mittellinie sollte 635 mm (25 in.) betragen.
|
|
OURX935,0000BFA-29-20100607
|
|