Anbau des Anbaugeräts an die Schnellkupplung

RXA0087968-UN-21MAR06

RXA0101383-UN-01APR09
Hebel
A - Kupplungsverriegelungshebel
B - Kraftheberhebel
ACHTUNG: Um Verletzungen oder Sachschäden zu vermeiden,
das Getriebe in PARK-Stellung schalten und im gesamten Kraftheberbereich
darauf achten, dass sich bei Vorhandensein eines Anbaugeräts
keine Teile berühren oder klemmen, und dass die Zapfwelle richtig
angeschlossen ist. Nicht zwischen Traktor und Anbaugerät
stehen.
-
Kupplungs-Verriegelungshebel (A) nach oben ziehen.
-
Den Kraftheber absenken, bis sich die Schnellkupplungshaken
unter den Anhängebolzen des Anbaugeräts befinden.
-
Den Traktor rückwärts an das Anbaugerät heranfahren.
-
Den Kraftheber anheben, bis die Anhängebolzen des Anbaugeräts
in die Haken greifen.
-
ACHTUNG: Zur Vermeidung von Verletzungen oder Maschinenschäden
sicherstellen, dass das Anbaugerät vorschriftsmäßig
angebracht ist. Bei unsachgemäßem Anbau kann das Anbaugerät
unter Umständen über das Traktorrad und auf die Fahrerkabine
gezogen werden.
Die Kupplungs-Verriegelungsgriffe nach unten drücken, um
das Anbaugerät in der Schnellkupplung zu verriegeln.
-
Die Hydraulikschläuche und elektrischen Anschlüsse
anschließen.
-
Das Anbaugerät durch langsames Ziehen des Kraftheber-Steuerhebels
(B) anheben. Das Anbaugerät auf den Boden absenken und gegebenenfalls
die Kraftheber-Höhenbegrenzung einstellen.
WICHTIG: Auf Behinderung durch das Anbaugerät prüfen.
Es kann erforderlich sein, das Zugpendel zu entfernen.
WICHTIG:

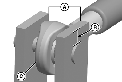
RXA0086593-UN-09FEB06
A - Abstand
B - Abstand
C - Gabel
Falls der Oberlenker direkt mit dem Anbaugerät verbunden
ist, die obere Öffnungsweite des Mastes (A) und die Höhe
über dem Stift (B) messen. Ist die obere Öffnung weiter
als 70 mm (2.8 in.) oder die Höhe oberhalb des Stiftes weniger
als 14 mm (0.6 in.), Distanzscheiben verwenden, um Taumeln des Gabelkopfes
(C) zu verringern/verhindern.
|
|
ZE59858,00007A1-29-20110818
|
|