Getriebe-/Hydraulikölstand prüfen

RXA0116158-UN-13JUN11
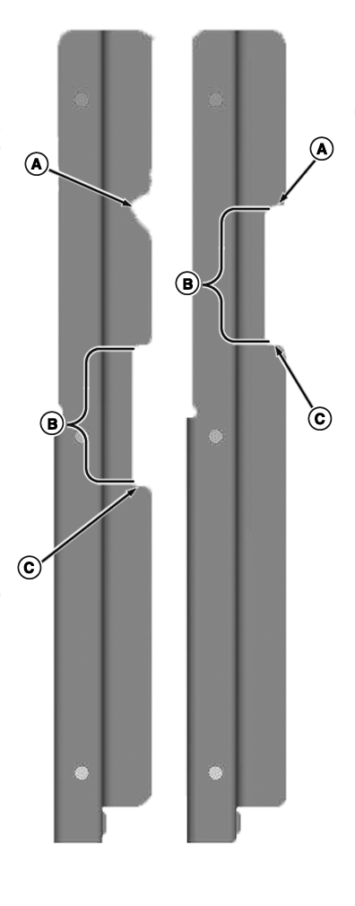
A - Füllstand Maximalbetrieb
B - Normaler Betriebsbereich
C - Auffüllbereich
Das Schauglas für das PowrQuad™ PLUS/AutoQuad™
PLUS/CommandQuad™-Getriebe ist auf der linken Seite, das für
das IVT™/AutoPowr™-Getriebe auf der rechten Seite.
-
Motor mindestens eine Minute lang mit 1000 1/min laufen lassen.
HINWEIS: Die Öltemperatur muss bei etwa 45 °C (113 °F)
liegen. Der Ölstand am Schauglas ist wesentlich höher bei
heißem Öl und niedriger bei kaltem Öl. Zur Bestimmung
der Öltemperatur siehe CommandCenter™ Leistungsmonitor
- Hauptanzeige.
-
Vor der Prüfung des Ölstands Traktor auf einer ebenen
Fläche abstellen und den Kraftheber absenken.
HINWEIS: Der Ölstand ist niedriger, wenn der Motor läuft
oder der Kraftheber angehoben ist.
-
Motor weiterlaufen lassen und Ölstand am Schauglas hinten
am Traktor prüfen.
-
Wenn sich der Füllstand des Getriebe-/Hydrauliköls
im oder unter dem Auffüllbereich (C) befindet, empfohlene Menge
für das entsprechende Getriebe auffüllen, bis die Oberkante
des normalen Betriebsbereichs (B) erreicht ist:
| Prüfpunkt | Maß | Spezifikation |
|
IVT™/AutoPowr™-Getriebe | Volumen | 13 l (14 qt) |
|
PowrQuad™ PLUS-, AutoQuad™ PLUS- und CommandQuad™-Getriebe
| Volumen | 8 l (8.5 qt) |
HINWEIS: Der Ölstand am Schauglas ist mit oder ohne optionalem
Behältersystem gleich hoch.
Strassentransport - Bei Anwendungen,
in denen der Traktor hauptsächlich zum Strassentransport und
für leichte hydraulische Arbeiten eingesetzt wird, Ölstand
auf das untere Ende des normalen Arbeitsbereichs (B) einstellen. Mit
einem geringeren Ölstand kann der Traktor bei Transportgeschwindigkeiten
sparsamer betrieben werden. Ölstände über dem Füllstand
für den Maximalbetrieb (A) können zu Leistungsverlust und
Hitzeentwicklung während des Transports führen.
Für Anwendungen in Seitenhanglage oder
bei hohem Ölbedarf - Ölstand muss sich leicht unter
dem oder am Füllstand für den Maximalbetrieb (A) befinden.
|
|
ZE59858,00007B2-29-20110705
|
|