Kotflügeleinstellungen bei Frontantrieb — schwenkbare
Kotflügel in Luxusausführung
Stellungen der Halterung
Die Halterung (A), die den Kotflügelanschlag berührt,
kann bei Verschleiß ersetzt werden.

RXA0112129-UN-14FEB11
A - Halterung
Kotflügelhalterung und Kotflügelanschlag in die empfohlenen
Stellungen bringen, um eine Beschädigung des Kotflügels
durch Berührung mit dem Rad oder der Motorhaube zu vermeiden.

RXA0112131-UN-04APR11
HINWEIS: Bei den folgenden Stellungen handelt es sich lediglich
um Empfehlungen. Je nach Reifengröße, Kotflügelgröße
und Position der Lenkanschläge, müssen die Kotflügel
möglicherweise abweichend von den nachstehenden empfohlenen Stellungen
zusätzlich eingestellt werden.
Stellungen der Anschläge
HINWEIS: Bei den folgenden Stellungen handelt es sich lediglich
um Empfehlungen. Je nach Reifengröße, Kotflügelgröße
und Position der Lenkanschläge, müssen die Kotflügel
möglicherweise abweichend von den nachstehenden empfohlenen Stellungen
zusätzlich eingestellt werden.

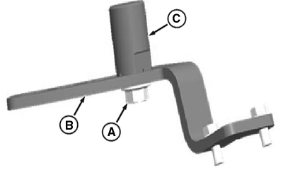
RXA0112135-UN-07JAN11
A - Sechskantschraube
B - Halterung
C - Stopfen
Sechskantschraube (A) in Halterung (B) anbringen. Anschlag
(C) von oben anschrauben.
Der Anschlag (C) kann bei Verschleiß ersetzt werden.
Möglicherweise müssen Einstellungen vorgenommen werden,
wenn der Kotflügel in engen Kurven die Motorhaube berührt.
Anschlag (C) zur Achse hin, von Stellung G zu Stellung A verschieben,
um den Abstand zwischen Kotflügel und Motorhaube zu vergrößern.
Möglicherweise müssen Einstellungen vorgenommen werden,
wenn der Reifen in engen Kurven den Kotflügel berührt. Anschlag
(C) von der Achse weg, von Stellung A zu Stellung G verschieben, um
den Abstand zwischen Reifen und Kotflügel zu vergrößern.

RXA0112126-UN-31MAR11
|
|
ZE59858,0000846-29-20110621
|
|