Verwendung von Stabilisierungsanschlägen
Um das Seitenspiel des Krafthebers möglichst gering zu
halten, Stabilisierungsanschläge (A) in der unteren Stellung
anbauen.

RXA0052493-UN-28MAR01
Stabilisierungsanschläge in unterer Stellung

RXA0090041-UN-04AUG06

RXA0117508-UN-15JUN11
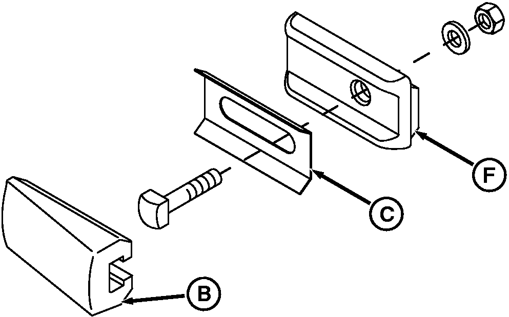
A - Stabilisierungsanschläge
B - Pufferanschlag
C - Distanzscheibe
D - Abstand zwischen den Reifen und Kabine
E - Abstand zwischen den Reifen
F - Distanzstück
Stopper (B) anpassen, indem die Sicherungsmutter gelockert und
nach vorne oder hinten geschoben wird, um das seitliche Spiel nach
Bedarf zu begrenzen.
Um bei abgesenktem Kraftheber Seitenspiel zu ermöglichen,
die Stabilisierungsanschläge (A) in oberer Stellung einbauen.
Bei angehobenem Kraftheber wird seitliches Spiel verhindert.
HINWEIS: Nach Bedarf Distanzscheiben verwenden, um gewünschte
Seitenstabilisierung zu erhalten. Die Scheiben können beim John Deere Händler erworben werden.
Falls der Stopper nicht genügend Einstellmöglichkeiten
zum Entfernen des Seitenspiels aufweist, können nach Bedarf Distanzscheiben
(C) zwischen Stopper (B) und Distanzstück (F) eingesetzt werden.
WICHTIG: Die Reifen müssen einen Mindestabstand (D) von
25 mm (1 in.) zu den Kotflügeln haben. Um eine Berührung
mit den Unterlenkern zu vermeiden, muss folgender Abstand (E) zwischen
den Reifen vorhanden sein:
-
Kraftheber der Kategorie 3N — 1,09 m (43 in.)
-
Kraftheber der Kategorie 3 — 1,17 m (46 in.)
Umstellen auf Kategorie 3 oder 3N
Traktoren sind werkseitig mit einem Schnellkuppler für
Kategorie-3-Anwendungen ausgestattet. Für die Umstellung auf
Kategorie 3N, Distanzstück (F) an der Aussenseite des Unterlenkers
anbringen.
|
John Deere
ist eine Marke von Deere & Company
|
ZE59858,000088F-29-20110727
|
|