-
Pour certains travaux avec écartement des rangs ou voie
étroit(e), un attelage de catégorie 3N est nécessaire.
L'accouplement rapide est convertible en catégorie 3 ou en
catégorie 3N. Utiliser un attelage de catégorie 3 dans
la mesure du possible, en particulier pour les charges lourdes.

RXA0085783-UN-10JAN06
Entretoise et bloc de butée
A - Pièce d'écartement
B - Bloc de butée
Poser la pièce d'écartement (A) à l'extérieur
de la barre de traction pour la catégorie 3N.
IMPORTANT: Si l'accouplement rapide est converti en catégorie
3N, la pièce d'écartement (A) de la cale de débattement
doit être montée sur la face extérieure de la
barre de traction pour éviter toute détérioration
de l'équipement.
-
Régler le bloc de butée (B) pour minimiser l'écart.
-
Bien serrer l'écrou.
-

RXA0098644-UN-28JUL08
Raccord rapide

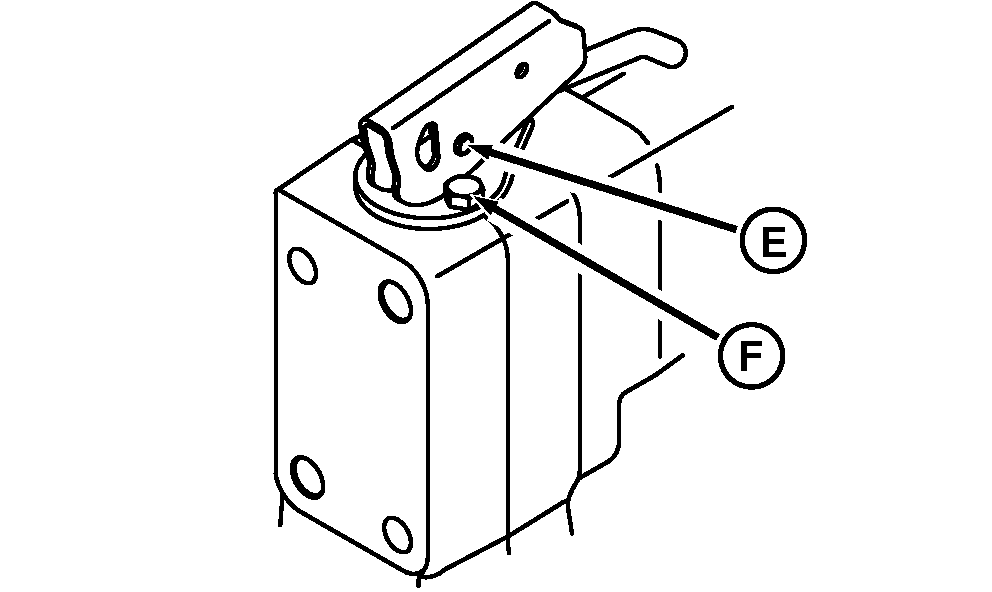
RXA0085782-UN-10JAN06
Raccord rapide
A - Boulons de retenue
B - Vis
C - Membre gauche
D - Membre droit
E - Clip en C et axe
F - Vis
Étayer la partie centrale de l'accouplement rapide.
Retirer les boulons de retenue (A) de l'axe et les axes de la barre
de traction. Déposer les vis (B) de la pièce latérale.
-
Permuter les membres latéraux de l'accouplement rapide,
membre gauche (C) à droite et membre droit (D) à gauche.
Serrer les vis à 320±64 Nm (236±47 ft-lb).
-
Décrocher les poignées de verrouillage en retirant
le clip en C et l'axe (E).
-
Retirer la vis (F) de la plaque d'usure et la pivoter pour que
la languette se trouve vers l'intérieur.
-
Poser les vis et bien les serrer.
-
Raccorder de nouveau les leviers.