Rester à l'écart des arbres de transmission en
rotation

TS1644-UN-22AUG95

H96219-UN-29APR10
Veiller à ne pas se faire happer par un arbre de transmission
en rotation, sous peine de blessures graves, voire mortelles.
Les garants des embouts de prise de force et des arbres de transmission
doivent toujours rester en place. S'assurer que les garants rotatifs
peuvent tourner librement.
Les arbres de prise de force ne doivent être utilisés
qu'avec les garants et protections appropriés.
Porter des vêtements ajustés au corps. Arrêter
le moteur et attendre l'immobilisation de l'arbre de transmission
avant d'entreprendre le réglage, l'attelage ou le nettoyage
de l'équipement entraîné.
Ne pas poser de dispositif adaptateur entre le tracteur et l'arbre
d'entraînement de prise de force de l'équipement primaire,
qui permettrait à l'arbre du tracteur tournant à 1000
tr/min d'entraîner un équipement tournant à 540
tr/min à un régime supérieur à 540 tr/min.
Ne pas poser de dispositif adaptateur qui empêcherait
de protéger une partie de l'arbre rotatif de l'équipement,
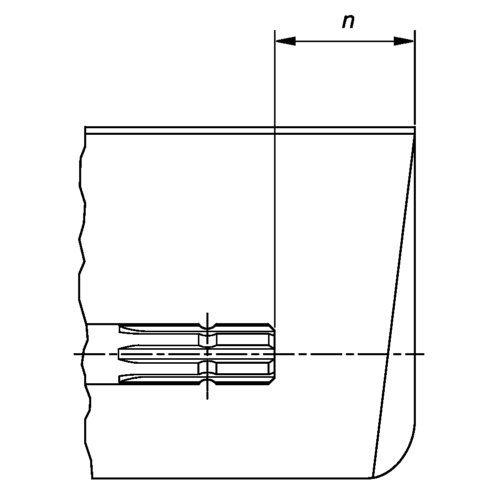
de l'arbre du tracteur ou de l'adaptateur. Le garant principal du
tracteur doit couvrir l'extrémité de l'arbre cannelé
et le dispositif adaptateur ajouté, comme indiqué dans
le tableau.
Il est possible de réduire l'angle auquel l'arbre d'entraînement
de prise de force de l'équipement primaire peut être
incliné selon la forme et la taille du garant principal du
tracteur ainsi que du garant de l'arbre d'entraînement de prise
de force de l'équipement primaire.
Ne pas relever les équipements à une hauteur susceptible
d'endommager le garant principal du tracteur ou le garant de l'arbre
d'entraînement de prise de force de l'équipement primaire.
Désaccoupler l'arbre de transmission de la prise de force s'il
est nécessaire d'augmenter la hauteur de l'équipement.
(Voir Accouplement/désaccouplement de l'arbre de transmission
de la prise de force.)
Si une prise de force de type 3/4 est utilisée, les angles
d'inclinaison et de rotation peuvent être réduits, en
fonction du type de garant principal de la prise de force et des rails
d'accouplement.
|
Type de prise de force
|
Diamètre
|
Cannelures
|
n ± 5 mm (0.20 in)
|
|
1
|
35 mm (1.378 in)
|
6
|
85 mm (3.35 in)
|
|
2
|
35 mm (1.378 in)
|
21
|
85 mm (3.35 in)
|
|
3
|
45 mm (1.772 in)
|
20
|
100 mm (4.00 in)
|
|
4
|
57,5 mm (2.264 in)
|
22
|
100 mm (4.00 in)
|
|