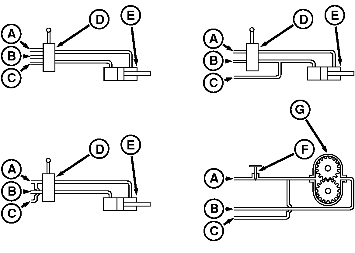
Exemples d'utilisation du circuit hydraulique à signal
de charge—Coupleur de dérivation

RXA0085800-UN-10JAN06
Quatre exemples d'utilisation du circuit hydraulique
à signal de charge—Coupleur de dérivation
A - Conduite de pression
B - Conduite de retour
C - Conduite de signal de charge
D - Distributeur
E - Vérin
F - Régulateur de débit à pression
optimisée
G - Moteur hydraulique
En haut à gauche—Les
distributeurs à signal de charge envoient un signal de charge
au circuit hydraulique et peuvent être actionnés manuellement
ou par des solénoïdes.
En haut à droite—Le
distributeur dirige l'huile dans les circuits d'extension ou de rétraction.
Raccorder la conduite de signal de charge au circuit nécessitant
de la pression. À titre d'exemple, on peut citer le vérin
de relevage d'un chariot où la charge est soutenue par des
butées mécaniques complètement descendues. La
conduite de signal de charge envoie un signal à la pompe si
une pression plus forte est nécessaire. La pression reste basse
lorsqu'elle n'est pas utilisée.
IMPORTANT: Le circuit permet à l'huile de fuite du vérin
de s'écouler par la conduite de signal de charge (C). Si cette
“fuite” n'est pas acceptable pour le type d'opération,
utiliser l'exemple 3.
En bas à gauche—Le
distributeur dirige l'huile dans les circuits d'extension ou de rétraction,
chacun des circuits nécessitant une haute pression. Raccorder
la conduite de signal de charge à la conduite de pression en
amont du distributeur.
NOTE: Le circuit maintient une pression maximale de 20000 kPa
(200 bars) (2900 psi) tant que les flexibles du coupleur
de dérivation sont branchés.
Il peut s'agir, par exemple, d'outil repliable nécessitant
une pression pour étendre ou rétracter les vérins.
En bas à droite—Le
régulateur de débit à pression optimisée
est utilisé pour réguler la vitesse du moteur hydraulique.
Raccorder la conduite de signal de charge à la conduite de
pression en aval du distributeur.
NOTE: Il se peut que la vitesse du moteur varie lorsque d'autres
fonctions modifient la pression du circuit. Pour minimiser les fluctuations,
installer un régulateur de débit à optimisation
de pression.
|
|
OURX935,000008D-28-20080115
|
|