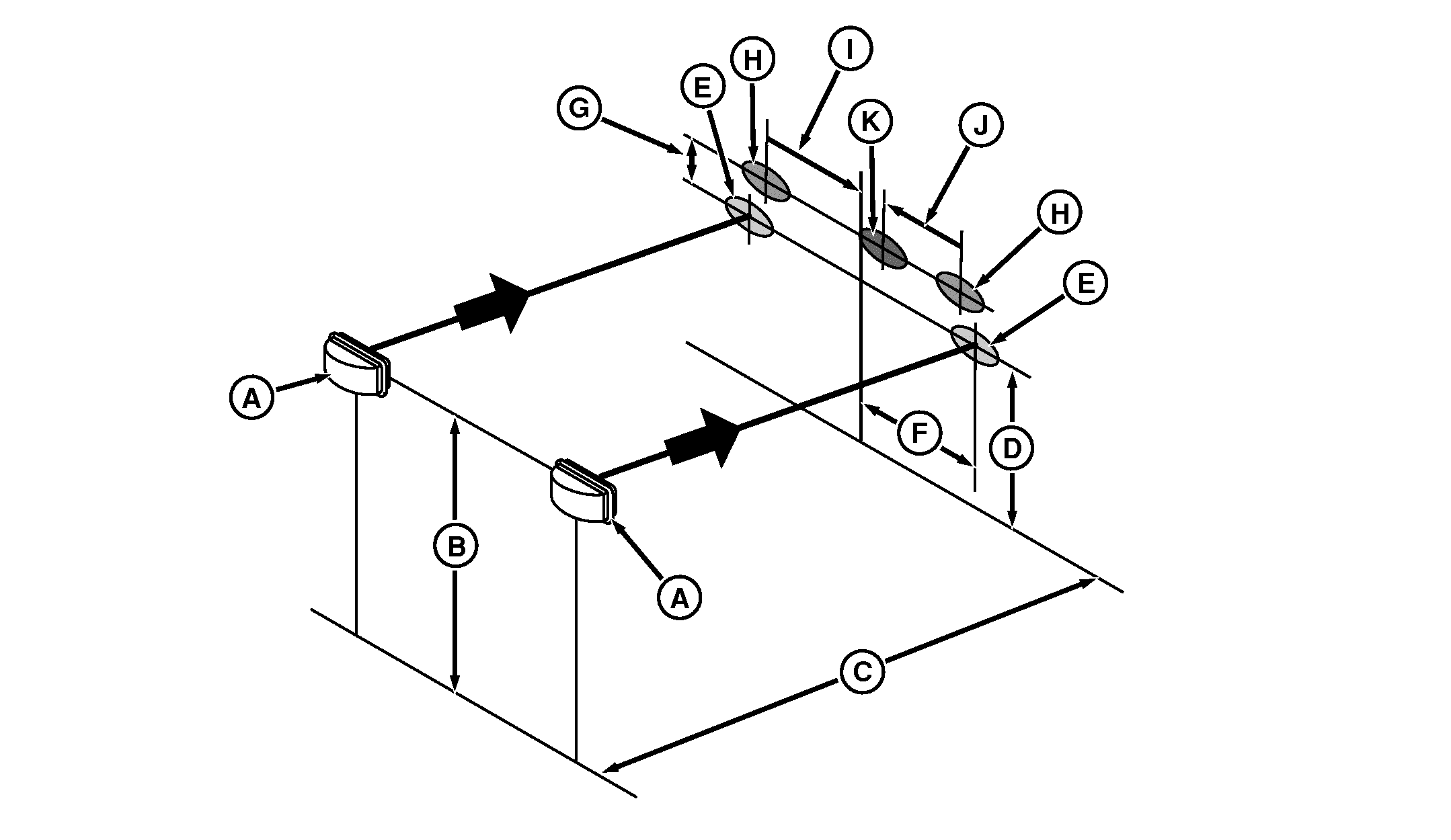
Orientation des phares principaux

RXA0107269-UN-03JUN10
A - Feux de croisement
B - Distance du centre des feux de croisement au sol
C - Distance de 7,5 m (25 ft)
D - Ligne horizontale sur le mur
E - Centre des faisceaux des feux de croisement
F - Distance, 914 mm (36 in)
G - Distance de 355 mm (14 in) (du centre des faisceaux
des feux de croisement au centre des faisceaux des feux de route)
H - Centre des faisceaux des feux de route
I - Distance de 787 mm (31 in) (du centre des faisceaux
des feux de route à la ligne médiane du tracteur)
J - Distance de 635 mm (25 in) (du centre des faisceaux
des feux de route au centre du faisceau du projecteur intérieur
de capot)
K - Centre du faisceau du projecteur intérieur
de capot
-
Garer le tracteur sur une surface plane avec les feux de route
(A) à 7,5 m (25 ft) (C) d'un mÛr droit. Allumer les feux
de croisement.
-
Mesurer la distance (B) entre le centre des feux de croisement
et le sol.
-
Tracer une ligne horizontale sur le mÛr (D) à la
même hauteur que les centres des faisceaux de feux de croisement.
-
Sur le mÛr, marquer tous les centres des faisceaux de
feux de croisement (E).
-
Sur le mÛr, déterminer et marquer la ligne centrale
verticale entre le centre des faisceaux de feux de croisement (F).
-
La distance (F) entre les centres des faisceaux des feux de
croisement et la ligne médiane devrait être de 914 mm
(36 in).
-
Allumer les feux de route.
-
Régler les feux de route de façon à ce
que le bord de la zone claire (H) soit à au moins un dixième de la distance (B) au-dessus des centres des faisceaux de feux de croisement
(E).
-
Marquer sur le mur le centre de chaque faisceau des feux de
route (H) sur le mur, puis tracer une ligne médiane verticale
entre les centres des faisceaux des feux de route.
-
La distance (I) entre le centre des faisceaux des feux de route
et la ligne médiane devrait être de 787 mm (31 in).
-
Vérifier que les phares intérieurs sur capot sont
activés, puis allumer les phares de travail. Le centre (K)
du faisceau du projecteur intérieur de capot devrait se trouver
sur la ligne horizontale entre les centres des faisceaux des feux
de route.
-
La distance (J) entre le centre (K) du faisceau du projecteur
intérieur de capot et la ligne médiane devrait être
de 635 mm (25 in).
|
|
OURX935,0000BFA-28-20120914
|
|