Entretien et branchement des raccords enclenchables STC®

RXA0080095-UN-31MAR05
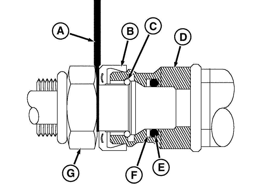
A - Outil STC JDG1885
B - Anneau de déverrouillage
C - Circlip
D - Extrémité femelle (raccord STC)
E - Joint torique
F - Bague d'appui
G - Extrémité mâle (raccord STC)
ATTENTION: Ne pas débrancher un raccord STC quand il est
sous pression. Toute négligence à cet égard peut
causer des blessures et/ou des dégâts matériels.
-
NOTE: Les raccords enclenchables sont utilisés sur des
conduites en acier ainsi que des branchements de flexible et sont
disponibles en différentes tailles. L'outil STC JDG1885 (A)
est conçu comme une entretoise pour déplacer l'anneau
de déverrouillage (B) vers l'avant afin de débloquer
le circlip (C). L'outil STC JDG1885 est en vente auprès du
concessionnaire John Deere.
IMPORTANT: Ne pas utiliser cet outil pour faire levier sur les
raccords; le raccord et l'outil pourraient être endommagés.
Insérer l'outil STC approprié entre l'anneau de
déverrouillage et le raccord.
-
Retirer le flexible ou la conduite du connecteur.
NOTE: Si le circlip (C), la bague d'appui (F) ou le joint torique
(E) sont endommagés, consulter le concessionnaire John Deere
pour obtenir un jeu de pièces de rechange et remplacer les
trois pièces.
Avant de brancher le raccord enclenchable:
-
Contrôler les surfaces de contact pour déceler
les entailles, les rayures ou les zones plates.
-
Rechercher les signes d'usure ou de détérioration
sur le joint torique, la bague d'appui et le circlip.
-
S'assurer que les extrémités femelle (D) et mâle
(G) ne sont pas contaminées.
-
Veiller à ce que l'anneau de déverrouillage (B)
se trouve sur le raccord mâle.
-
Amener les deux moitiés du raccord l'une contre l'autre
jusqu'à ce qu'elles s'emboîtent à fond.
-
Tirer sur le flexible pour s'assurer que les deux moitiés
du raccord sont bien verrouillées.
|
STC est une marque commerciale
de Aeroquip Corporation
|
OURX935,0000C02-28-20111205
|
|