Accrochage d'outils à l'accouplement rapide

RXA0087968-UN-21MAR06

RXA0101383-UN-01APR09
Levier
A - Poignée de verrouillage de l'accouplement
B - Levier de commande du relevage
ATTENTION: Pour éviter tout risque de blessure ou d'endommagement
de la machine lors de l'attelage d'un accessoire, mettre le levier
de vitesses sur STATIONNEMENT et vérifier la course complète
de l'attelage pour s'assurer qu'il n'y a pas de risques de contact
accidentel, de blocage ou de séparation de la PDF. Ne pas se tenir entre le tracteur et l'accessoire.
-
Tirer vers le haut les poignées de verrouillage (A) d'accouplement.
-
Abaisser l'attelage jusqu'à ce que les crochets de l'accouplement
rapide soient plus bas que les axes d'attelage de l'outil.
-
Reculer le tracteur jusqu'à l'outil.
-
Relever suffisamment l'attelage pour engager les axes de l'outil
dans les crochets.
-
ATTENTION: Pour éviter les risques de blessures ou d'endommagement
de la machine, s'assurer que l'outil est correctement attaché.
Si l'outil est mal attaché, il pourrait se heurter à
la roue d'entraînement du tracteur et se rabattre sur le poste
de conduite.
Pousser les poignées de verrouillage de l'accouplement
vers le bas pour verrouiller l'outil à l'accouplement rapide.
-
Brancher les flexibles hydrauliques et les connexions électriques.
-
Tirer doucement sur le levier de commande du relevage (B) pour
relever l'équipement. Abaisser l'accessoire au sol et régler,
si nécessaire, la commande de limite de hauteur supérieure.
IMPORTANT: S'assurer que l'outil n'entre pas en contact avec
d'autres pièces. Il peut être nécessaire de déposer
la barre d'attelage.
IMPORTANT:

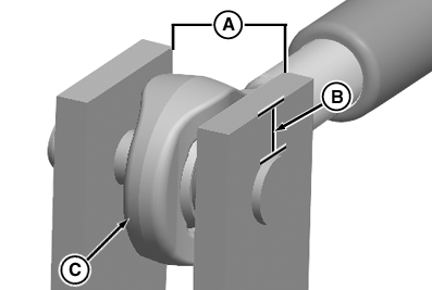
RXA0086593-UN-09FEB06
A - Distance
B - Distance
C - Chape
Si la barre de poussée est directement fixée
à l'outil, mesurer l'ouverture (A) du mât supérieur
et la hauteur au-dessus de l'axe (B). Si l'écart du mât
est supérieur à 70 mm (2.8 in) ou que la hauteur au-dessus
de l'axe est inférieure à 14 mm (0.6 in), mettre en
place des cales pour limiter/réduire le pivotement de la chape
(C).
|
|
ZE59858,00007A1-28-20110818
|
|