-
Conduire le tracteur afin de réchauffer l'huile de transmission/hydraulique
jusqu'à 38 °C (100 °F).

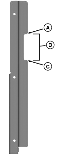
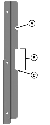
RXA0114056-UN-11FEB11
Bouchons de vidange de réservoir et de la
boîte de vitesses

RXA0114058-UN-11FEB11
Bouchon de vidange de prise de force

RXA0115624-UN-31MAR11
Bouchon de vidange de la réduction finale
(un par côté)
A - Bouchon de vidange de la transmission
B - Bouchon de vidange du réservoir
C - Bouchon de vidange de prise de force
D - Bouchon de vidange de la réduction finale
(un par côté)
-
Garer le tracteur sur une surface horizontale.
-
Abaisser l'attelage. Abaisser le dispositif d'attelage hydraulique
(suivant équipement).
-
Laisser le moteur tourner au ralenti pendant 1 à 2 minutes
puis l'arrêter.
-
Déplacer la barre d'attelage sur le côté
afin de laisser l'huile s'écouler.
-
Déposer les bouchons de vidange de la transmission (A),
du réservoir (B), de la PDF (C) et de chacune des réductions
finales (D) (un par côté).
-
Retirer le couvercle de la crépine d'aspiration (E).
Pour les transmissions PowrQuad™ PLUS, AutoQuad™ PLUS
et CommandQuad™, enlever les vis de conduite de lubrification
(F) et les vis de conduite de purge (G), puis déposer les conduites.

RXA0122441-UN-05DEC11
Emplacement de la crépine d’aspiration
des boîtes PowrQuad™ PLUS, AutoQuad™ PLUS et CommandQuad™
(côté gauche du tracteur)

RXA0122442-UN-05DEC11
Emplacement de la crépine d'aspiration,
boîte de vitesses IVT/AutoPowr (côté droit de la boîte)

RXA0122443-UN-05DEC11
Filtre à huile de transmission/hydraulique
(côté gauche du tracteur)
A - Couvercle de crépine d'aspiration
B - Vis de conduite de lubrification
C - Vis de conduite de purge
D - Vis de couvercle de crépine d'aspiration
E - Filtre à huile de transmission/hydraulique
IMPORTANT: Lors du montage des conduites (F et G) sur le couvercle
de la crépine d'aspiration (E), ne pas oublier de monter les
joints toriques. Cela pourrait entraîner une fuite.
Retirer la vis (H) pour enlever le couvercle de la crépine
d'aspiration (E).
-
Retirer la crépine d'aspiration et la laver avec soin
dans du solvant. Sécher à l'air comprimé.
-
Installer la crépine et la conduite d'huile en s'assurant
que le joint et le joint torique sont correctement positionnés.
-
Déposer le filtre à huile de transmission/hydraulique
(I).
-
Lubrifier le joint du filtre neuf avec de l'huile hydraulique
propre.
-
Visser le filtre jusqu'à ce que le joint touche la surface
d'étanchéité. Serrer à la main d'un 1/2
tour supplémentaire.
-
Reposer les bouchons de vidange une fois l'huile vidangée
et les serrer au couple prescrit.
| Objet de la mesure | Nature de la mesure | Valeur prescrite |
|
Bouchon de vidange | Couple de serrage | 102 N·m (75 lb-ft) |
-
IMPORTANT: Lors du remplissage avec de l'huile du tracteur.
Utiliser seulement l'UNE des procédures suivantes "Ajout d'huile
avec pompe" ou "Ajout d'huile sans pompe". NE PAS
EFFECTUER LES DEUX PROCÉDURES.
AJOUT D'HUILE SANS POMPE
-
Ouvrir la vanne de transfert d'huile hydraulique (C). Elle se
trouve du côté gauche du tracteur, devant la tringle
de contrôle d'effort.

RXA0122444-UN-05DEC11
Arrière du tracteur

RXA0122445-UN-05DEC11
Côté gauche du tracteur
A - Orifice de retour du bloc de puissance hydraulique
externe
B - Tube de remplissage
C - Vanne de transfert d'huile
-
Déposer le capuchon du tube de remplissage (B) et y verser
128 l (135 qt) d'huile hydraulique (voir la section Ingrédients).
-
Attendre 15 minutes pour que l'huile passe dans le réservoir
hydraulique.
-
Fermer la vanne de transfert d'huile (C).
IMPORTANT: Pour éviter d'endommager le tracteur, l'huile
doit être visible dans le regard quand la vanne de transfert
est fermée avant le démarrage.
-
Observer le niveau d'huile dans le regard. L'huile baisse dans
le regard quand la vanne de transfert est fermée.
-
Si le niveau d'huile est visible dans le regard, poursuivre
avec l'étape 15.
Si l'huile n'est PAS visible dans
le regard, ouvrir la vanne de transfert et attendre 5 minutes supplémentaires.
Recommencer jusqu'à ce que l'huile soit visible dans le regard.
IMPORTANT: L'huile doit être visible dans le regard avant
de continuer vers l'étape 15.
AJOUT D'HUILE AVEC POMPE
-
IMPORTANT: La vanne de transfert doit être fermée
avant de poursuivre la procédure de remplissage d'huile.
Démarrer le moteur et le laisser tourner au ralenti pendant
5 minutes.
-
Vérifier le niveau d'huile dans le regard. Quand le tracteur
est au ralenti, ajouter de l'huile lentement dans le tube de remplissage (B).
Observer l'augmentation du niveau d'huile dans le regard. Il
y a un léger retard entre l'ajout d'huile et le moment où
elle apparaît dans le regard. Faire l'appoint d'huile en fonction
du niveau d'huile du regard. (Pour les capacités d'huile hydraulique,
voir les caractéristiques dans le livret d'entretien.)