Réglages des ailes du pont avant—Ailes pivotantes
Deluxe
Positions des supports
Le support (A) qui touche la butée de l'aile peut être
remplacé s'il est usé.

RXA0112129-UN-14FEB11
A - Support
Pour éviter tout endommagement de l'aile dÛ au
frottement avec la roue ou le capot, monter un support et une butée
d'aile aux endroits recommandés.

RXA0112131-UN-04APR11
NOTE: Les positions suivantes ne sont données qu'à
titre indicatif. En fonction de la monte en pneus, de la taille de
l'aile et de la position de la butée de braquage, il peut s'avérer
nécessaire de positionner les ailes comme indiqué ci-dessous.
Positions de butée
NOTE: Les positions suivantes ne sont données qu'à
titre indicatif. En fonction de la monte en pneus, de la taille de
l'aile et de la position de la butée de braquage, il peut s'avérer
nécessaire de positionner les ailes comme indiqué ci-dessous.

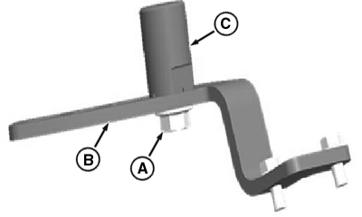
RXA0112135-UN-07JAN11
A - Vis
B - Support
C - Butée
Insérer la vis (A) dans le support (B). Visser la
butée (C) à partir du haut.
La butée (C) peut être remplacée si elle
est usée.
Il peut s'avérer nécessaire d'effectuer des réglages
si l'aile touche le capot dans des virages serrés. Déplacer
la butée (C) vers l'essieu, de la position G à la position
A, pour éloigner davantage l'aile du capot.
Il peut s'avérer nécessaire d'effectuer des réglages
si le pneu touche l'aile dans des virages serrés. Éloigner
la butée (C) de l'essieu, de la position A à la position
G, pour éloigner davantage l'aile du pneu.

RXA0112126-UN-31MAR11
|
|
ZE59858,0000846-28-20110621
|
|