Utilisation de cales de débattement
Pour minimiser l'oscillation latérale du relevage, poser
des cales stabilisatrices (A) en position basse.

RXA0052493-UN-28MAR01
Cales stabilisatrices en position basse

RXA0090041-UN-04AUG06

RXA0117508-UN-15JUN11
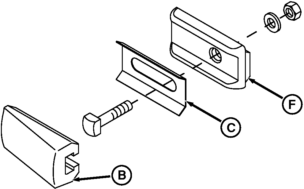
A - Cales stabilisatrices
B - Bloc de butée
C - Cale
D - Écart entre les pneus et la cabine
E - Distance entre les pneus
F - Pièce d'écartement
Régler la butée (B) en desserrant l'écrou
de blocage et en glissant le dispositif vers l'avant ou l'arrière
pour limiter l'oscillation selon le débattement.
Poser les cales stabilisatrices (A) en position supérieure
pour permettre le débattement latéral quand l'attelage
est abaissé. Le débattement latéral est bloqué
quand le relevage est relevé.
NOTE: Mettre en place des cales selon le besoin pour obtenir
le contrôle de débattement souhaité. Les cales
peuvent être obtenues auprès d'un concessionnaire John Deere.
Si le réglage du bloc de butée ne permet pas d'éliminer
l'oscillation du relevage, monter des cales (C) en quantité
nécessaire entre le bloc de butée (B) et la pièce
d'écartement (F).
IMPORTANT: Il doit avoir un écart minimum de 25 mm
(1 in) (D) par rapport aux ailes. Pour éviter tout contact
accidentel avec la barre de traction, s'assurer que la distance (E)
entre les pneus est de:
-
Relevage catégorie 3N - 1,09 m (43 in) -
-
Relevage catégorie 3 - 1,17 m (46 in)
Conversion en catégorie 3 ou 3N:
Les tracteurs sont équipés d'un accouplement rapide
monté en usine pour les applications de catégorie 3.
Pour passer à la catégorie 3N, déplacer la pièce
d'écartement (F) vers l'extérieur de la barre de traction.
|
John Deere
est une marque commerciale de Deere & Company
|
ZE59858,000088F-28-20111128
|
|