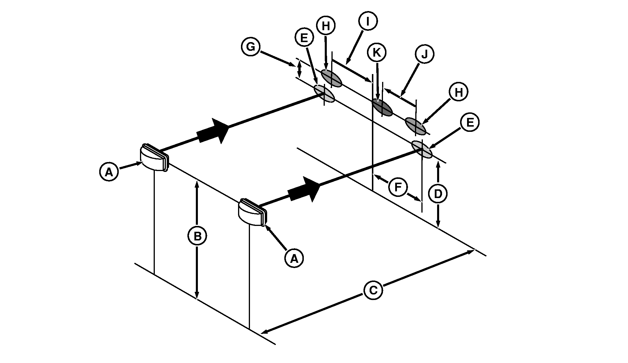
A fényszórók beállítása

RXA0107269-UN-03JUN10
A - Tompított fényszórók
B - Távolság, tompított fényszóró
középvonaltól a talajig
C - Távolság, 7,5 méter (25 ft)
D - Vízszintes vonal a falon
E - Tompított fényszóró
középvonala
F - Távolság, 914 mm (36 in.)
G - Távolság, 355 mm (14 in.) (Tompított
fényszóró középvonalától
a távolsági fényszóró (reflektor)
középvonaláig)
H - Távolsági fényszóró
középvonala
I - Távolság, 787 mm (31 in.) (Távolsági
fényszóró középvonalától
a traktor középvonaláig)
J - Távolság, 635 mm (25 in.) (Távolsági
fényszóró középvonalától
a belső motorháztető fényszóró
középvonaláig)
K - Belső motorháztető fényszóró
középvonala
-
Álljon a traktorral vízszintes területre
úgy, hogy a tompított fényszórók
(A) 7,5 m (25 ft) távolságra legyenek egy
függőleges faltól. Kapcsolja fel a tompított
fényszórókat.
-
Mérje meg a távolságot a (B) tompított
fényszóró középvonala és a
talaj között.
-
Húzzon egy vízszintes vonalat a falra, a tompított
fényszóró középvonalával azonos
magasságban.
-
A falon egyenként jelölje be a tompított
fényszórók középpontjait.
-
A falon határozza meg a tompított fényszórók
középpontja közötti távolság közepét,
és oda húzzon egy függőleges vonalat.
-
A tompított fényszórók középpontja
és a középvonal közti távolságnak
(F) 914 mm-nek (36 in.) kell lennie.
-
Kapcsolja fel a távolsági fényszórót
(reflektort).
-
Állítsa be úgy a távolsági
fényszórót, hogy a fényes terület
körvonala (H) legalább a (B)
távolság egy tizedére legyen a tompított
fényszóró középpontjai (E) felett.
-
A falon jelölje be mindegyik távolsági fényszóró
középpontját (H), majd húzzon egy vízszintes
középvonalat a távolsági fényszórók
középpontjai között.
-
A távolsági fényszórók középpontja
és a középvonal közti távolságnak
(I) 787 mm-nek (31 in.) kell lennie.
-
Ellenőrizze, hogy a belső motorháztető
lámpák bekapcsolásra vannak-e beállítva,
majd kapcsolja fel a munkalámpákat. A belső motorháztető
lámpa fénynyaláb középpontjának
(K) a távolsági fényszóró középpontjai
között lévő vízszintes vonalon kell
lennie.
-
A belső motorháztető lámpa fénynyaláb
középpontja (K) és a lámpa középvonal
közti távolságnak 635 mm-nek (25 in.) kell lennie.
|
|
OURX935,0000BFA-35-20111205
|
|