Hajtómű/hidraulika olaj és szűrő
cseréje
-
Hajtson a traktorral, hogy a hajtómű/hidraulika
olaj felmelegedjen 38 °C-ra (100 °F).

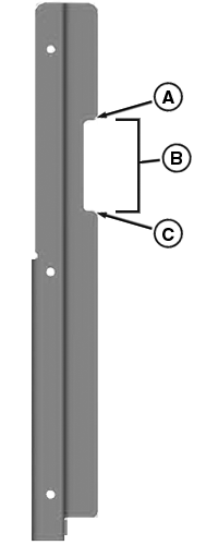
RXA0114056-UN-11FEB11
Tartály és hajtómű
leeresztő dugók

RXA0114058-UN-11FEB11
TLT leeresztő dugó

RXA0115624-UN-31MAR11
Véglehajtás leeresztő dugója
(oldalanként egy)
A - Hajtómű leeresztő dugó
B - Tartály leeresztő dugó
C - TLT leeresztő dugó
D - Véglehajtás leeresztő dugója
(oldalanként egy)
-
Állítsa a traktort vízszintes felületre.
-
Engedje le a hárompontot. Engedje le a pótkocsi
vonófejet (ha van).
-
Járassa a motort alapjáraton 1—2 percig,
majd állítsa le a motort.
-
Mozdítsa a vonórudat oldalra, annak érdekében,
hogy az olaj akadály nélkül kifolyhasson.
-
Vegye ki a hajtómű leeresztő dugót
(A), az olajtartály leeresztő dugót (B), a TLT
leeresztődugóját (C) és a véglehajtások
leeresztő dugóit (D) oldalanként egy).
-
Szerelje le a szívószűrő fedelét
(E). PowrQuad™ PLUS, AutoQuad™ PLUS, és CommandQuad™
hajtóművek esetében szerelje le a kenőolaj
vezeték fejescsavarjait (F) és az ürítővezeték
fejescsavarjait (G) és szerelje le a vezetékeket.

RXA0122441-UN-05DEC11
Szívószűrő elhelyezkedése
PowrQuad™ PLUS, AutoQuad™ PLUS, és CommandQuad™
hajtóműveknél (a traktor bal oldalán)

RXA0122442-UN-05DEC11
Szívószűrő elhelyezkedése,
az ábrán az IVT/AutoPowr sebességváltó látható
(a sebességváltó jobb oldala)

RXA0122443-UN-05DEC11
Hajtómű/hidraulika szűrő
(a traktor bal oldalán)
A - Szívószűrő fedél
B - Kenővezeték csavarok
C - Ürítővezeték csavarok
D - Szívószűrő fedél
csavarok
E - Hajtómű/hidraulika olajszűrő
FONTOS: A vezetékek (F és G) szívószűrő-burkolatra
(E) történő felszerelésekor ne feledkezzen
meg a tömítőgyűrűkről. Ennek
elmaradása szivárgást okoz.
A szívószűrő burkolat (E) leszereléséhez
szerelje ki a fejescsavart (E).
-
Vegye ki a szívószűrőt és
mossa ki tisztítószeres oldatban alaposan. Szárítsa
meg sűrített levegővel.
-
Tegye vissza a szűrőt és az olajcsövet,
ügyelve arra, hogy az O-gyűrű a helyén legyen.
-
Vegye ki a hajtómű/hidraulika olaj szűrőt
(I).
-
Kenje meg az új szűrő tömítését
tiszta hidraulika olajjal.
-
Csavarja fel az új szűrőt annyira, hogy
a tömítés érintse a felfekvő felületet.
Húzzon a szűrőn további 1/2 fordulatot.
-
Az olaj leeresztése után szerelje vissza a leeresztődugókat,
és húzza meg az előírás szerint.
| Tétel | Mérés | Specifikáció |
|
Leeresztő csavar | Meghúzási
nyomaték | 102 Nm (75 lb-ft) |
-
FONTOS: Mikor a traktort feltölti olajjal. Az “olaj
betöltése szivattyúval” vagy az “olaj
betöltése szivattyú nélkül” eljárások
közül csak az EGYIKET használja. NE HAJTSA VÉGRE MINDKÉT ELJÁRÁST.
OLAJ HOZZÁADÁSA SZIVATTYÚ
NÉLKÜL
-
Nyissa ki a hidraulikaolaj átadó szelepet (C).
A szelep a traktor bal oldalán található a vonórudazat
előtt.

RXA0122444-UN-05DEC11
A traktor hátulja

RXA0122445-UN-05DEC11
A traktor jobb oldala
A - Power Beyond visszatérő csatlakozó
B - Beöntő nyak
C - Olaj átadó szelep
-
Vegye le a feltöltő cső (B) sapkát,
és öntsön 128 l (135 qt) hidraulikaolajat (lásd
az Üzemanyagok, kenőanyagok és hűtőfolyadék
fejezetben) a feltöltő csőbe.
-
Várjon 15 percet, amíg az olaj átfolyik
a hidraulikatartályba.
-
Zárja el az olaj átadó szelepet (C).
FONTOS: A traktor károsodásának megelőzése
érdekében az olajszint látható kell legyen
a szintjelző üvegben, amikor lezárja az átadó
szelepet a traktor indítása előtt.
-
Figyelje meg az olajszintet a szintjelző üvegben.
Az olaj átadó szelep elzárásakor az olajszint
csökken a szintjelző üvegben.
-
Ha az olajszint látható a szintjelző üvegben,
folytassa a 15. lépéstől.
Ha az olaj NEM látható
a szintjelző üvegben, nyissa ki az olaj átadó
szelepet, és várjon még 5 percet. Ismételje
mindaddig, amíg az olaj nem látható a szintjelző
üvegben.
FONTOS: Az olajnak látszani kell a szintjelző
üvegben, mielőtt a 15. lépéssel folytatná.
OLAJ HOZZÁADÁSA SZIVATTYÚVAL
-
Vegye le a sapkát a közvetlen hidraulikus teljesítmény
visszatérő csonkjáról (A).
-
Szereljen hidraulikus gyorscsatlakozót és toldatot
a közvetlen hidraulika teljesítmény visszatérő
csonkjára (C). Húzza meg kézzel.
-
Szereljen egy ISO csővéget a szivattyú
kimenő csövére.
-
Csatlakoztassa a szivattyú kimeneti tömlőjét
a közvetlen hidraulikus teljesítmény egység
gyorscsatlakozó pontjára.
-
Szivattyúzzon 38 l (40 qt) hidraulikaolajat a közvetlen
hidraulikus teljesítmény egység csonkjába
vagy 50 l-t (53 qt) az opcionális hidraulikaolaj tartályba,
ha van a gépen.
FONTOS: Annak érdekében, hogy megakadályozza
a traktor károsodását, az olajszintnek láthatónak
kell lennie a figyelőüvegen, mielőtt a traktort
indítaná.
-
Húzza ki a szivattyú kimenő csövét
a Power beyond gyorscsatolóból.
-
Vegye le az ISO csővéget a szivattyú kimenő
csövéből.
-
Helyezze a szivattyú kimenő tömlőjét
csövet a feltöltő csőbe (B).
-
Szivattyúzzon 90 l (95 qt) hidraulika olajat a feltöltő
csőbe (B).
-
FONTOS: Az olaj átadó szelepnek zárva
kell lennie az olajfeltöltés műveletének
folytatása előtt.
Indítsa be a motort, és járassa lassú
alapjáraton 5 percig.
-
Ellenőrizze meg az olajszintet a szintjelző üvegben.
Miközben a motor alapjáraton jár, lassan öntsön olajat feltöltőcsőbe
(B).
Figyelje meg az olajszint növekedését a szintjelző
üvegben. Az olajfeltöltés után egy kis késéssel
fog megjelenni a szintváltozás a szintjelző üvegen.
Töltse fel az olajat, a szintjelző üveg alapján.
(Lásd a Kezelési utasítás hidraulikaolaj
űrtartalom specifikációit.)

RXA0115989-UN-31MAR11
IVT™/AutoPowr™ sebességváltó

RXA0116018-UN-31MAR11
PowrQuad™ PLUS, AutoQuad™ PLUS, és
CommandQuad hajtóművek
A - Maximális működési szint
B - Normál működési tartomány
C - Feltöltés szint
Amikor a váltó és hidraulikaolaj mennyisége
eléri a feltöltési szintet (C), öntse fel
az adott sebességváltóhoz javasolt olajmennyiséggel,
hogy elérje a normál működési tartomány
(B) felső szintjét:
| Tétel | Mérés | Specifikáció |
|
IVT™ / AutoPowr™ hajtómű | Űrtartalom | 13 l (14 qt) |
|
PowrQuad™ PLUS, AutoQuad™ PLUS, és CommandQuad™
hajtóművek | Űrtartalom | 8 l (8.5 qt) |
Közúti szállítás
- Olyan alkalmazásoknál, ahol a traktort főleg
közúti szállításra használják,
és kicsi a hidraulikus terhelés, az olajszintet a normál
üzemeltetési tartományhoz (B) állítsa
be. Alacsonyabb olajszint esetén a traktor szállítási
sebességeknél hatékonyabban működik.
Ha az olajszint a szintjelző üveg felső jele fölött
van (A), az teljesítmény veszteséget és
melegedést okozhat szállítás közben.
Hegyoldali vagy nagy olajmennyiséget
igényelő alkalmazások esetén - az
olajszintnek a legmagasabb üzemi szinten (A), vagy kissé
az alatt kell lennie.
|
Az IVT a Deere & Company márkaneve
Az AutoPowr a Deere & Company védjegye.
|
ZE59858,00007B3-35-20120127
|
|