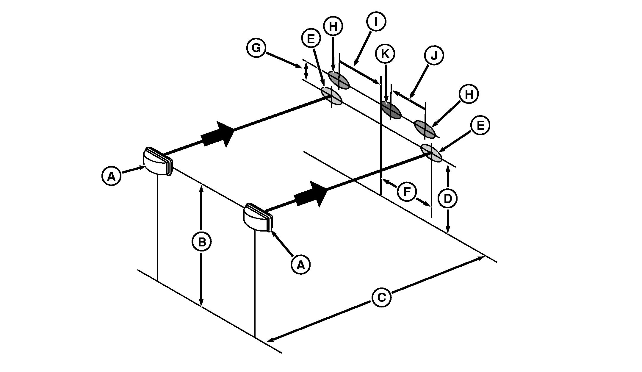
Ustawianie reflektorów

RXA0107269-UN-03JUN10
A - Światła mijania
B - Odległość, Od środka
świateł mijania do podłoża
C - Odległość, 7,5 m (25 ft)
D - Pozioma linia na ścianie
E - Środek świateł mijania
F - Odległość, 914 mm (36 in.)
G - Odległość, 355 mm (14 in.)
(Od środka świateł mijania do środka świateł
drogowych)
H - Środek świateł drogowych
I - Odległość, 787 mm (31 in.)
(Od środka świateł drogowych do środkowej
linii ciągnika)
J - Odległość, 635 mm (25 in.)
(Od środka świateł drogowych do środka
wewnętrznego światła pokrywy silnika)
K - Środek wewnętrznego światła
pokrywy silnika
-
Zaparkować ciągnik na równym podłożu,
ze światłami mijania (A) w odległości
7,5 m (25 ft) (C) od prostej ściany. Włączyć
światła mijania.
-
Zmierzyć odległość (B) od środka
świateł mijania do podłoża.
-
Narysować pozioma linię na ścianie na tej
samej wysokości, na której znajdują się
środki wiązek świateł mijania.
-
Zaznaczyć na ścianie środek każdego
światła mijania.
-
Wyznaczyć i narysować na ścianie pionową,
centralną linię pomiędzy środkami wiązek
świateł mijania.
-
Odległość (F) pomiędzy środkami
wiązek świateł mijania a centralną linią
powinna wynosić 914 mm (36 in.).
-
Włączyć światła drogowe.
-
Wyregulować wiązki świateł drogowych
w taki sposób, aby krawędź oświetlonego
obszaru (H) znajdowała się co najmniej w jednej dziesiątej odległości (B) nad środkami świateł mijania
(E).
-
Zaznaczyć na ścianie środek (H) wiązki
każdego światła drogowego, a następnie narysować
poziomą, centralną linię pomiędzy środkami
wiązek świateł drogowych.
-
Odległość (I) pomiędzy środkami
wiązek świateł drogowych a centralną linią
powinna wynosić 787 mm (31 in.).
-
Sprawdzić, czy wewnętrzne światła
pokrywy silnika są skonfigurowane jako WŁĄCZONE,
a następnie włączyć światła
polowe. Środek wiązki wewnętrznego światła
pokrywy silnika (K) powinien znajdować się na poziomej
linii pomiędzy środkami wiązek świateł
drogowych.
-
Odległość (J) pomiędzy środkiem
wiązki wewnętrznego światła pokrywy silnika
(K) a centralną linią świateł powinna wynosić
635 mm (25 in.).
|
|
OURX935,0000BFA-53-20111205
|
|