-
Pojeździć ciągnikiem, aby rozgrzać
olej przekładniowy/hydrauliczny do 38 °C (100 °F).

RXA0114056-UN-11FEB11
Korki spustowe zbiornika i przekładni

RXA0114058-UN-11FEB11
Korek spustowy WOM

RXA0115624-UN-31MAR11
Korek spustowy zwolnicy (jeden po każdej stronie)
A - Korek spustowy przekładni
B - Korek spustowy zbiornika
C - Korek spustowy WOM
D - Korek spustowy zwolnicy (jeden po każdej stronie)
-
Zaparkuj ciągnik na płaskim terenie.
-
Opuścić zaczep. Dolny zaczep do przyczep jednoosiowych
(jeżeli jest).
-
Pozostawić silnik na biegu jałowym przez 1—2
minuty, następnie zatrzymać silnik.
-
Przesunąć zaczep rolniczy w bok, tak aby nie przeszkadzał
w spuszczaniu oleju.
-
Wyjąć korek spustowy przekładni (A), korek
spustowy zbiornika (B), korek spustowy WOM (C) oraz korki spustowe
wszystkich zwolnic (D) (jeden po każdej stronie).
-
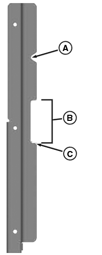
Zdjąć pokrywę filtru siatkowego ssącego
(E). W przypadku przekładni PowrQuad™ PLUS, AutoQuad™
PLUS i CommandQuad™, należy odkręcić śruby
przewodów smarowania (F) oraz śruby przewodów
przepłukiwania (G), a następnie zdjąć te
przewody.

RXA0122441-UN-05DEC11
Lokalizacja filtra siatkowego ssącego przekładni
PowrQuad™ PLUS, AutoQuad™ PLUS oraz CommandQuad™
(lewa strona ciągnika)

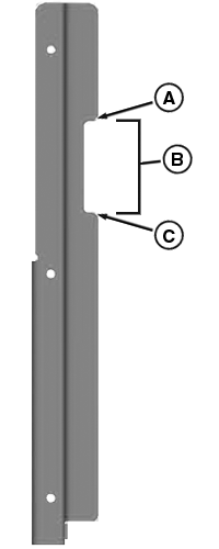
RXA0122442-UN-05DEC11
Umiejscowienie siatki ssącej przekładnia IVT/AutoPowr (prawa strona przekładni)

RXA0122443-UN-05DEC11
Filtr przekładni/hydrauliczny (lewa strona
ciągnika)
A - Pokrywa filtra siatkowego ssącego
B - Śruby przewodu układu smarowania
C - Śruby przewodu układu przepłukiwania
D - Śruba pokrywy filtra siatkowego ssącego
E - Filtr oleju przekładniowego/hydraulicznego
WAŻNE: W czasie instalacji przewodów (F oraz G) na
osłonie filtra siatkowego ssącego (E), należy pamiętać
o zamontowaniu uszczelek O-ring. W przeciwnym wypadku mogą wystąpić
przecieki.
Odkręcić śrubę (H), aby umożliwić
zdjęcie osłony filtra siatkowego ssącego (E).
-
Wyjąć filtr siatkowy ssący i dokładnie
umyć go w rozpuszczalniku. Osuszyć przedmuchując
sprężonym powietrzem.
-
Zamontować filtr siatkowy i przewód olejowy, sprawdzając,
czy uszczelka i O-ring są prawidłowo umieszczone.
-
Wyjąć filtr oleju przekładniowego/hydraulicznego
(I).
-
Nasmarować uszczelkę nowego filtra czystym olejem
hydraulicznym.
-
Dokręć filtr tak, aby uszczelka zetknęła
się z powierzchnią. Dokręć ręcznie
o dodatkowe pół obrotu.
-
Po spuszczeniu oleju założyć korki spustowe
i dokręcić zgodnie ze specyfikacją.
| Pozycja | Wielkość pomiarowa | Specyfikacja |
|
Korek spustowy | Moment dokręcania | 102 Nm (75 lb-ft) |
-
WAŻNE: Napełniając ciągnik olejem. Użyć
tylko JEDNEJ z następujących procedur Dolewanie oleju
przy użyciu pompy lub Dolewanie oleju bez użycia pompy. NIE PRZEPROWADZAĆ OBYDWU PROCEDUR.
DOLEWANIE OLEJU BEZ POMPY
-
Otworzyć zawór przesyłowy (C) oleju hydraulicznego.
Zawór jest umieszczony po lewej stronie ciągnika z przodu
cięgła dolnego.

RXA0122444-UN-05DEC11
Tył ciągnika

RXA0122445-UN-05DEC11
Prawa strona ciągnika
A - Port powrotny Power Beyond
B - Rura wlewu
C - Zawór przepływu oleju
-
Zdjąć korek rury wlewu (B) i wlać 128 l
(135 qt) oleju hydraulicznego (patrz Sekcja Paliwo, środki
smarne i płyn chłodzący) do rury wlewu.
-
Odczekać 15 minut, aż olej przeleje się do
zbiornika oleju hydraulicznego.
-
Zamknąć zawór przesyłowy oleju (C).
WAŻNE: Aby zapobiec uszkodzeniu ciągnika, przed jego
uruchomieniem, należy upewnić się, czy olej jest
widoczny na szklanym wskaźniku, gdy zawór przepływu
oleju został zamknięty.
-
Obserwować poziom oleju na szklanym wskaźniku.
Poziom oleju w szklanym wskaźniku obniży się przy
zamkniętym zaworze przepływu oleju.
-
Jeżeli poziom oleju jest niewidoczny w szklanym wskaźniku,
należy przejść do Kroku 15.
Jeżeli poziom oleju jest NIEWIDOCZNY w szklanym wskaźniku, należy otworzyć zawór
przesyłowy oleju i odczekać dodatkowe 5 minut. Powtarzać,
aż olej stanie się widoczny w szklanym wskaźniku.
WAŻNE: Przed przejściem do Kroku 15 należy upewnić
się, że poziom oleju jest widoczny w szklanym wskaźniku.
DOLEWANIE OLEJU PRZY UŻYCIU POMPY
-
WAŻNE: Przed przejściem do następnych kroków
procedury uzupełniania oleju, należy zamknąć
zawór przesyłowy oleju.
Uruchomić silnik i pozostawić włączony
na 5 minut na wolnych obrotach biegu jałowego.
-
Sprawdzić poziom oleju na szklanym wskaźniku.
Gdy ciągnik pracuje na biegu jałowym, powoli dolać oleju do wlewu ciągnika (B).
Obserwować wzrastanie poziomu oleju na szklanym wskaźniku.
Poziom oleju w szklanym wskaźniku jest pokazywany z pewnym
opóźnieniem w stosunku do momentu jego wlewania. Uzupełniać
poziom oleju stosownie do poziomu widocznego na szklanym wskaźniku.
(Ilości oleju hydraulicznego są podane w specyfikacjach,
w Instrukcji obsługi.)