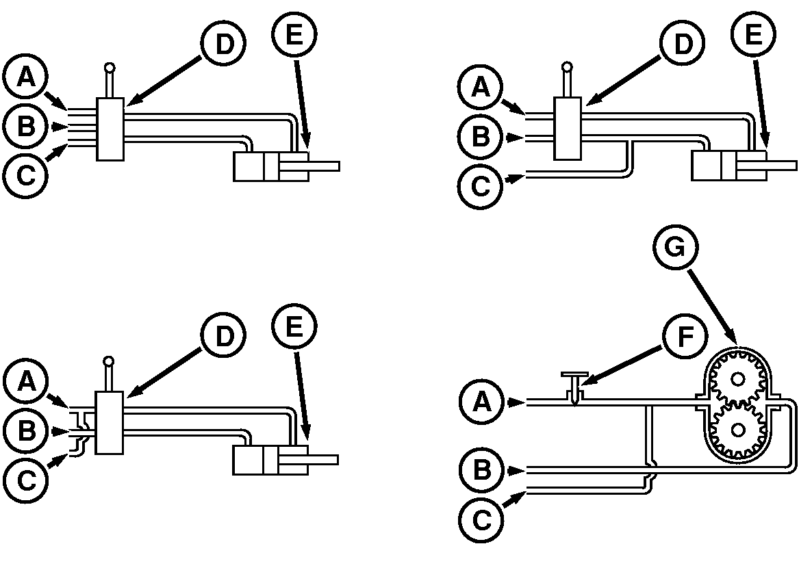
Examples Using Load-Sensing Hydraulic System—Power-Beyond

RXA0085800-UN-10JAN06
Four Examples of Load-Sensing Hydraulic System
— Power Beyond
A - Pressure Line
B - Return Line
C - Load-Sense Line
D - Control Valve
E - Cylinder
F - Pressure-Compensated Flow Valve
G - Hydraulic Motor
Upper Left —Control valves
with a load-sense provide a load-sense signal to hydraulic system
and can be operated manually or by solenoids.
Upper Right —Control valve
directs oil into extend or retract circuits. Connect load-sense line
to circuit requiring pressure. An example is a wagon lift cylinder
with load supported by mechanical stops in full down position. Load-sense
signals pump when increased pressure is needed. Pressure remains low
when not needed.
IMPORTANT: Circuit allows cylinder "leak-down" through load-sense
line (C). If leakage is not acceptable for operation, use Example
3.
Lower Left—Control valve
directs oil into extend or retract circuits, either requiring high
pressure. Connect load-sense line to pressure line before control
valve.
NOTE: System will maintain a maximum pressure of 20000 kPa (200
bar) (2900 psi) as long as power-beyond hoses are connected.
An example is a folding implement, where pressure is needed
to extend or retract cylinders.
Lower Right—Pressure-compensated
flow control valve is used to regulate hydraulic motor speed. Connect
load-sense line to pressure line after control valve.
NOTE: Motor speed can fluctuate when other functions cause system
pressure change. Minimize fluctuations by installing a pressure-compensated
flow control valve.
|
|
OURX935,000008D-19-20080115
|
|