Using Sway Blocks
Install sway blocks (A) in lower position to minimize side sway
of hitch.

RXA0052493-UN-28MAR01
Sway Blocks in Lower Position

RXA0090041-UN-04AUG06
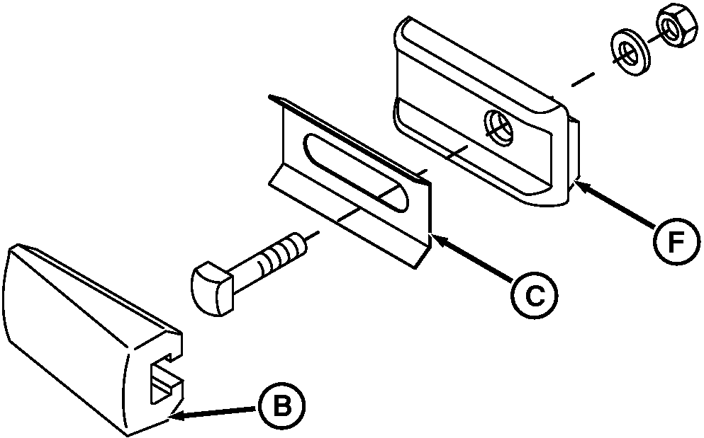
Install Shim Between Bumper block and Spacer

RXA0110775-UN-09SEP10
Distance Between Tires
A - Sway Blocks
B - Bumper
C - Shim
D - Distance Clearance Between Tires And Cab
E - Distance Between Tires
F - Spacer
Adjust bumper (B) by loosening lock nut and sliding forward
or rearward as needed to limit the amount of sway.
Mount sway blocks in upper position to allow side sway when
hitch is lowered. Side sway is prevented when hitch is raised.
NOTE: Use shims as needed to provide desired sway control. Shims
can be purchased from your John Deere dealer.
If there is not enough adjustment in bumper block to remove
hitch sway, install shims as necessary between bumper block and spacer
(F).
IMPORTANT: Tires must have at least 25 mm (1. in.) clearance
distance (D) with fenders. To prevent draft link interference, be
sure distance (E) between tires is:
-
Category 3N Hitch—1.09 m (43 in.)
-
Category 3 Hitch—1.17 m (46 in.)
-
Category 4N Hitch—1.17 m (46 in.)
|
|
OURX935,00000A4-19-20100920
|
|